龙虎榜丨四川黄金今日跌7.2%,深股通专用卖出778.23万元

http://ddx.gubit.cn  2023-05-09 21:39  四川黄金(001337)公司分析

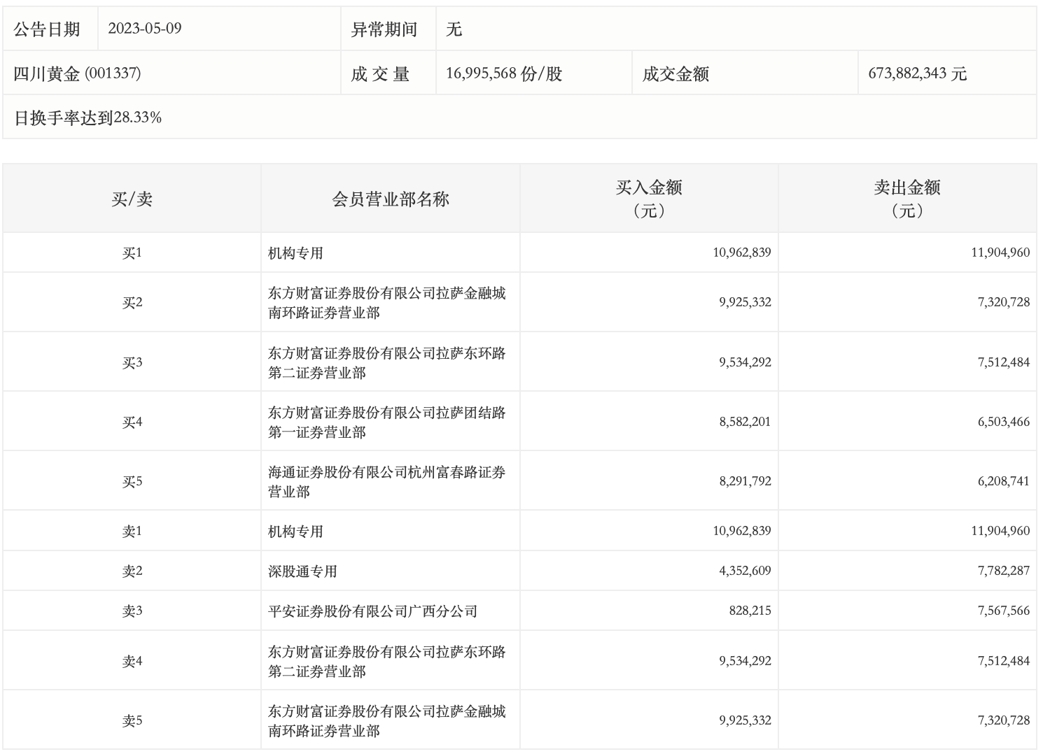
5月9日,四川黄金今日跌7.2%,龙虎榜数据显示,上榜营业部席位全天成交1.07亿元,占当日总成交金额比例为15.92%。其中,买入金额为5247.73万元,卖出金额为5480.02万元,合计净卖出232.3万元。

具体来看,机构买入1096.28万元,卖出1190.5万元,合计净卖出94.21万元。此外,深股通专用、平安证券广西分公司分别卖出778.23万元、756.76万元;东方财富证券拉萨金融城南环路证券营业部、东方财富证券拉萨东环路第二证券营业部分别买入992.53万元、953.43万元。