龙虎榜 | 四川黄金今日涨4.63%,知名游资宁波桑田路卖出1688.35万元

http://ddx.gubit.cn  2023-07-20 16:33  四川黄金(001337)公司分析

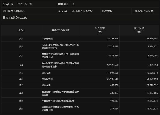
7月20日,四川黄金今日涨4.63%,龙虎榜数据显示,上榜营业部席位全天成交2.34亿元,占当日总成交金额比例为21.94%。其中,买入金额为8293.29万元,卖出金额为1.51亿元,合计净卖出6825.53万元。

具体来看,机构买入1236.72万元,卖出3471.16万元,合计净卖出2234.44万元。此外,知名游资现身龙虎榜,深股通专用、东方财富证券拉萨东环路第二证券营业部分别买入2519.65万元、1771.71万元;深股通专用、宁波桑田路(国盛证券宁波桑田路证券营业部)分别卖出5187.92万元、1688.35万元。