龙虎榜丨智微智能今日涨停,知名游资方新侠净买入2087.54万元

查股网  2024-01-09 17:11  智微智能(001339)个股分析

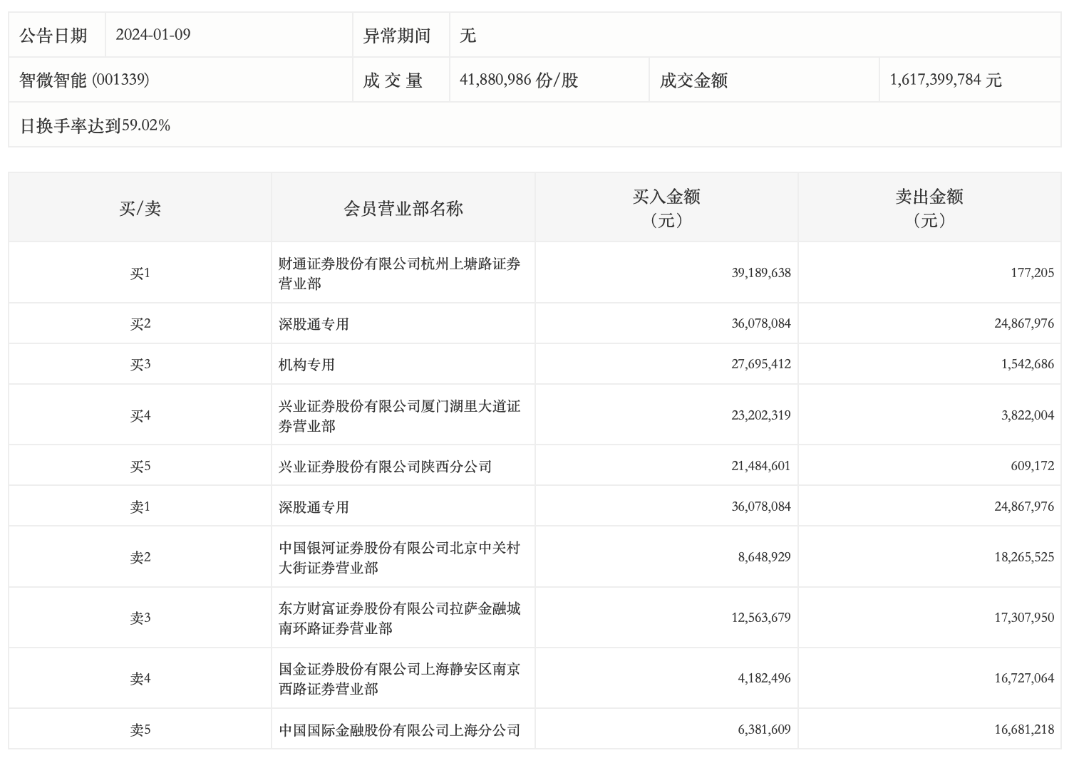
1月9日,智微智能今日涨停,龙虎榜数据显示,上榜营业部席位全天成交2.79亿元,占当日总成交金额比例为17.28%。其中,买入金额为1.79亿元,卖出金额为1.0亿元,合计净买入7942.6万元。

具体来看,机构买入2769.54万元,卖出154.27万元,合计净买入2615.27万元。此外,知名游资现身龙虎榜,方新侠(兴业证券股份有限公司陕西分公司)净买入2087.54万元。此外,财通证券杭州上塘路证券营业部、深股通专用分别买入3918.96万元、3607.81万元;深股通专用、中国银河证券北京中关村大街证券营业部分别卖出2486.80万元、1826.55万元。