龙虎榜丨播恩集团今日跌9.03%,知名游资赵老哥净卖出744.78万元

http://ddx.gubit.cn  2023-04-06 23:19  播恩集团(001366)公司分析

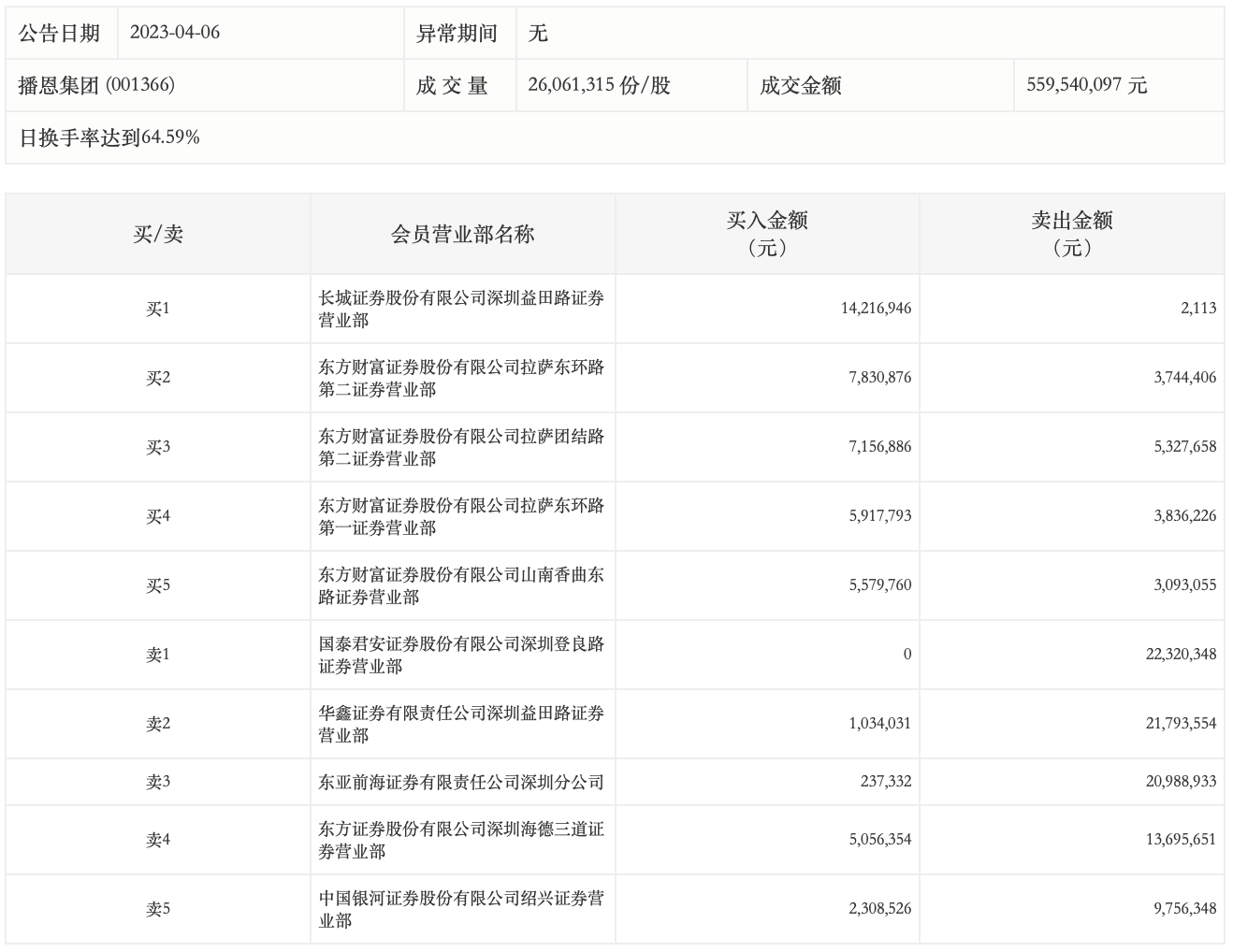
4月6日,播恩集团今日跌9.03%,龙虎榜数据显示,上榜营业部席位全天成交1.54亿元,占当日总成交金额比例为27.5%。其中,买入金额为4933.85万元,卖出金额为1.05亿元,合计净卖出5521.98万元。

具体来看,知名游资现身龙虎榜,赵老哥(中国银河证券股份有限公司绍兴证券营业部)净卖出744.78万元。此外,国泰君安证券深圳登良路证券营业部、华鑫证券深圳益田路证券营业部分别卖出2232.03万元、2179.36万元;长城证券深圳益田路证券营业部、东方财富证券拉萨东环路第二证券营业部分别买入1421.69万元、783.09万元。