龙虎榜丨翔腾新材今日涨停,财通证券杭州上塘路证券营业部买入2168.65万元

http://ddx.gubit.cn  2023-07-20 16:37  翔腾新材(001373)公司分析

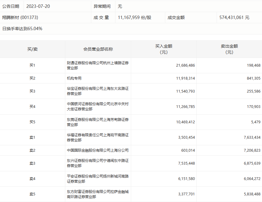
7月20日,翔腾新材今日涨停,龙虎榜数据显示,上榜营业部席位全天成交1.23亿元,占当日总成交金额比例为21.44%。其中,买入金额为8805.3万元,卖出金额为3509.04万元,合计净买入5296.26万元。

具体来看,机构买入1191.83万元,卖出84.13万元,合计净买入1107.7万元。此外,财通证券杭州上塘路证券营业部、华宝证券上海东大名路证券营业部分别买入2168.65万元、1154.08万元;华福证券上海宛平南路证券营业部、中国国际金融上海分公司分别卖出763.34万元、720.68万元。