龙虎榜丨腾达科技今日涨42.7%,机构合计净卖出724.26万元

查股网  2024-01-19 16:37  腾达科技(001379)个股分析

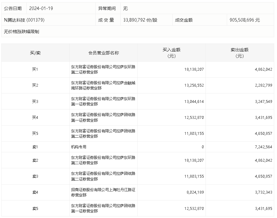
1月19日,腾达科技今日涨42.7%,全天换手率达69.17%,振幅达29.09%。龙虎榜数据显示,营业部席位合计净买入4734.97万元。其中,机构合计净卖出724.26万元。此外,东方财富证券拉萨东环路第二证券营业部、东方财富证券拉萨金融城南环路证券营业部分别买入1813.82万元、1325.66万元;东方财富证券拉萨东环路第二证券营业部、东方财富证券拉萨团结路第二证券营业部分别卖出486.20万元、465.09万元。