招商公路:2024年上半年净利润27.08亿元 同比下降3.64%

中证智能财讯 招商公路(001965)8月30日披露2024年半年报。2024年上半年,公司实现营业总收入59.84亿元,同比增长39.73%;归母净利润27.08亿元,同比下降3.64%;扣非净利润26.90亿元,同比下降3.59%;经营活动产生的现金流量净额为30.25亿元,同比增长54.06%;报告期内,招商公路基本每股收益为0.3857元,加权平均净资产收益率为4.28%。
公告称,营业收入变化主要由于招商中铁并表影响。

以8月29日收盘价计算,招商公路目前市盈率(TTM)约为12.53倍,市净率(LF)约为1.22倍,市销率(TTM)约为7.3倍。

公司近年市盈率(TTM)、市净率(LF)、市销率(TTM)历史分位图如下所示:



根据半年报,公司第二季度实现营业总收入29.63亿元,同比增长31.28%,环比下降1.95%;归母净利润14.15亿元,同比下降3.18%,环比增长9.39%;扣非净利润13.97亿元,同比下降3.13%,环比增长8.12%。

资料显示,公司主要从事流域综合治理、土壤修复与环境咨询三大核心业务,以咨询、设计、施工、建设、投资、后期管理运营的创新服务模式,建设国内一流的生态环境综合服务商。
2024年上半年,公司毛利率为36.89%,同比下降1.82个百分点;净利率为50.62%,较上年同期下降20.08个百分点。从单季度指标来看,2024年第二季度公司毛利率为38.15%,同比上升0.52个百分点,环比上升2.49个百分点;净利率为53.62%,较上年同期下降16.52个百分点,较上一季度上升5.94个百分点。

数据显示,2024年上半年公司加权平均净资产收益率为4.28%,较上年同期下降0.63个百分点;公司2024年上半年投入资本回报率为2.68%,较上年同期下降0.68个百分点。

2024年上半年,公司经营活动现金流净额为30.25亿元,同比增长54.06%;筹资活动现金流净额9.09亿元,同比减少5.48亿元;投资活动现金流净额-47.59亿元,上年同期为3.38亿元。
进一步统计发现,2024年上半年公司自由现金流为87.49亿元,相比上年同期增长22.73%。

2024年上半年,公司营业收入现金比为109.07%,净现比为111.68%。

营运能力方面,2024年上半年,公司总资产周转率为0.04次,上年同期为0.04次(2023年上半年行业平均值为0.08次,公司位居同行业18/19);固定资产周转率为2.52次,上年同期为3.87次(2023年上半年行业平均值为1.05次,公司位居同行业3/19);公司应收账款周转率、存货周转率分别为3.04次、9.07次。

2024年上半年,公司期间费用为13.02亿元,较上年同期增加4.21亿元;期间费用率为21.75%,较上年同期上升1.18个百分点。其中,销售费用同比增长0.19%,管理费用同比增长35.27%,研发费用同比增长0.4%,财务费用同比增长63.14%。
资料显示,管理费用、财务费用的变动主要是受并表招商中铁影响。

资产重大变化方面,截至2024年上半年末,公司无形资产较上年末减少1.97%,占公司总资产比重下降2.67个百分点;长期股权投资较上年末增加10.16%,占公司总资产比重上升2.13个百分点;其他应收款(含利息和股利)较上年末增加163.62%,占公司总资产比重上升0.84个百分点;货币资金较上年末减少8.95%,占公司总资产比重下降0.64个百分点。

负债重大变化方面,截至2024年上半年末,公司其他应付款(含利息和股利)较上年末增加168.30%,占公司总资产比重上升2.13个百分点;长期借款较上年末增加8.41%,占公司总资产比重上升1.36个百分点;一年内到期的非流动负债较上年末减少39.47%,占公司总资产比重下降2.14个百分点;应付债券较上年末减少19.66%,占公司总资产比重下降1.64个百分点。

从存货变动来看,截至2024年上半年末,公司存货账面价值为4.65亿元,占净资产的0.68%,较上年末增加9800.95万元。其中,存货跌价准备为1554.82万元,计提比例为3.23%。

在偿债能力方面,公司2024年上半年末资产负债率为47.02%,相比上年末下降0.82个百分点;有息资产负债率为35.52%,相比上年末下降3.47个百分点。

2024年上半年,公司流动比率为0.90,速动比率为0.88。

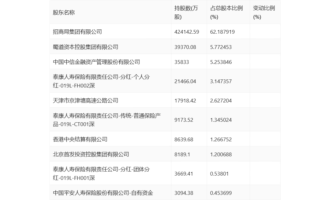
半年报显示,2024年上半年末公司十大流通股东中,新进股东为中国平安人寿保险股份有限公司-自有资金,取代了一季度末的中国人民财产保险股份有限公司-自有资金。在具体持股比例上,香港中央结算有限公司持股有所上升,泰康人寿保险有限责任公司-分红-个人分红-019L-FH002深、泰康人寿保险有限责任公司-传统-普通保险产品-019L-CT001深、泰康人寿保险有限责任公司-分红-团体分红-019L-FH001深持股有所下降。

筹码集中度方面,截至2024年上半年末,公司股东总户数为3.5万户,较一季度末增长了3606户,增幅11.48%;户均持股市值由一季度末的245.39万元下降至231.03万元,降幅为5.85%。

指标注解:
市盈率
=总市值/净利润。当公司亏损时市盈率为负,此时用市盈率估值没有实际意义,往往用市净率或市销率做参考。
市净率
=总市值/净资产。市净率估值法多用于盈利波动较大而净资产相对稳定的公司。
市销率
=总市值/营业收入。市销率估值法通常用于亏损或微利的成长型公司。
文中市盈率和市销率采用TTM方式,即以截至最近一期财报(含预报)12个月的数据计算。市净率采用LF方式,即以最近一期财报数据计算。
市盈率为负时,不显示当期分位数,会导致折线图中断。