ST德豪:2023年亏损2.29亿元

中证智能财讯 ST德豪(002005)4月27日披露2023年年报。2023年,公司实现营业总收入7.87亿元,同比下降33.60%;归母净利润亏损2.29亿元,上年同期亏损3.69亿元;扣非净利润亏损3.07亿元,上年同期亏损3.86亿元;经营活动产生的现金流量净额为-8129.94万元,上年同期为-5099.20万元;报告期内,ST德豪基本每股收益为-0.1305元,加权平均净资产收益率为-30.77%。

以4月26日收盘价计算,ST德豪目前市盈率(TTM)约为-7.21倍,市净率(LF)约为4.32倍,市销率(TTM)约为2.09倍。

公司近年市盈率(TTM)、市净率(LF)、市销率(TTM)历史分位图如下所示:



数据统计显示,ST德豪近三年营业总收入复合增长率为-29.18%,在厨房小家电行业已披露2023年数据的11家公司中排名第11。近三年净利润复合年增长率为17.36%,排名4/11。

年报称,公司自成立以来一直从事于小家电产品的研发和生产制造,为国内知名制造类企业,2011年投产LED封装业务,目前主营业务为以智能咖啡机为主的厨房小家电业务和LED封装业务。
分产品来看,2023年公司主营业务中,厨房家电收入4.85亿元,同比下降48.51%,占营业收入的61.67%;LED芯片及应用收入2.03亿元,同比增长64.32%,占营业收入的25.82%。

截至2023年末,公司员工总数为1566人,人均创收50.27万元,人均创利-14.60万元,人均薪酬15.63万元,较上年同期分别变化-1.41%、7.93%、26.78%。

2023年,公司毛利率为8.75%,同比上升2.28个百分点;净利率为-28.82%,较上年同期上升2.55个百分点。从单季度指标来看,2023年第四季度公司毛利率为8.10%,同比下降8.35个百分点,环比下降0.71个百分点;净利率为-11.38%,较上年同期上升56.37个百分点,较上一季度上升22.42个百分点。

分产品看,厨房家电、LED芯片及应用2023年毛利率分别为4.45%、21.51%。

报告期内,公司前五大客户合计销售金额3.42亿元,占总销售金额比例为43.50%,公司前五名供应商合计采购金额0.68亿元,占年度采购总额比例为12.28%。


数据显示,2023年公司加权平均净资产收益率为-30.77%,较上年同期下降0.57个百分点;公司2023年投入资本回报率为-23.83%,较上年同期增长0.77个百分点。

2023年,公司经营活动现金流净额为-8129.94万元,同比减少3030.74万元;筹资活动现金流净额-3871.61万元,同比减少1.53亿元;投资活动现金流净额-1446.94万元,上年同期为-1081.86万元。
进一步统计发现,2023年公司自由现金流为-2.07亿元,上年同期为-1.41亿元。

2023年,公司营业收入现金比为117.69%。

营运能力方面,2023年,公司公司总资产周转率为0.35次,上年同期为0.39次(2022年行业平均值为0.90次,公司位居同行业12/12);固定资产周转率为1.23次,上年同期为1.43次(2022年行业平均值为9.55次,公司位居同行业12/12);公司应收账款周转率、存货周转率分别为4.65次、6.98次。

2023年,公司期间费用为3.19亿元,较上年同期减少1167.29万元;但期间费用率为40.55%,较上年同期上升12.64个百分点。其中,销售费用同比下降25.95%,管理费用同比增长4.82%,研发费用同比下降37.55%,财务费用同比增长8.08%。

资产重大变化方面,截至2023年年末,公司其他权益工具投资合计较上年末减少89.94%,占公司总资产比重下降17.68个百分点;无形资产较上年末减少5.17%,占公司总资产比重上升4.37个百分点;固定资产较上年末减少20.56%,占公司总资产比重上升4.29个百分点;在建工程较上年末增加4.62%,占公司总资产比重上升3.02个百分点。

负债重大变化方面,截至2023年年末,公司其他应付款(含利息和股利)较上年末减少7.79%,占公司总资产比重上升7.35个百分点;应付账款较上年末减少8.43%,占公司总资产比重上升4.53个百分点;应付票据较上年末减少17.08%,占公司总资产比重上升1.20个百分点;应交税费较上年末减少21.00%,占公司总资产比重上升0.60个百分点。

从存货变动来看,截至2023年年末,公司存货账面价值为8558.95万元,占净资产的22.45%,较上年末减少3472.7万元。其中,存货跌价准备为2253.13万元,计提比例为20.84%。

2023年全年,公司研发投入金额为2223.69万元,同比下降34.25%;研发投入占营业收入比例为2.82%,相比上年同期下降0.03个百分点。此外,公司全年研发投入资本化率为15.34%。


年报称,目前公司持有LED封装业务相关专利100多项,除核心技术专利外,多项创新产品也曾荣获“省科技技术二等奖”、国家重点新产品、重点高新技术产品等多个奖项及技术认证。公司不断加强对新产品和新技术的研发,2023年公司全资子公司安徽锐拓电子有限公司通过国家高新技术企业认定。
在偿债能力方面,公司2023年年末资产负债率为70.05%,相比上年末上升17.27个百分点;有息资产负债率为3.89%,相比上年末上升0.86个百分点。

2023年,公司流动比率为0.52,速动比率为0.45。

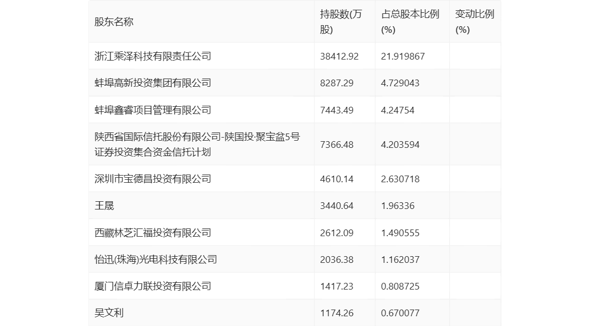
年报显示,2023年年末公司十大流通股东中,持股最多的为浙江乘泽科技有限责任公司,占比21.92%。十大流通股东名单相比2023年三季报维持不变。在具体持股比例上,吴文利持股有所下降。

筹码集中度方面,截至2023年年末,公司股东总户数为4万户,较三季度末下降了721户,降幅1.77%;户均持股市值由三季度末的6.07万元下降至6.01万元,降幅为0.99%。

指标注解:
市盈率
=总市值/净利润。当公司亏损时市盈率为负,此时用市盈率估值没有实际意义,往往用市净率或市销率做参考。
市净率
=总市值/净资产。市净率估值法多用于盈利波动较大而净资产相对稳定的公司。
市销率
=总市值/营业收入。市销率估值法通常用于亏损或微利的成长型公司。
文中市盈率和市销率采用TTM方式,即以截至最近一期财报(含预报)12个月的数据计算。市净率采用LF方式,即以最近一期财报数据计算。
市盈率为负时,不显示当期分位数,会导致折线图中断。