华兰生物:2024年第一季度净利润2.62亿元 同比下降25.56%

中证智能财讯 华兰生物(002007)4月26日披露2024年一季报。2024年第一季度,公司实现营业总收入7.87亿元,同比下降10.60%;归母净利润2.62亿元,同比下降25.56%;扣非净利润2.21亿元,同比下降19.66%;经营活动产生的现金流量净额为5018.65万元,同比下降86.41%;报告期内,华兰生物基本每股收益为0.1431元,加权平均净资产收益率为2.28%。

2024年第一季度,公司毛利率为55.68%,同比下降7.38个百分点;净利率为34.85%,较上年同期下降8.57个百分点。

数据显示,2024年第一季度公司加权平均净资产收益率为2.28%,较上年同期下降1.05个百分点;公司2024年第一季度投入资本回报率为1.86%,较上年同期下降0.97个百分点。

2024年第一季度,公司经营活动现金流净额为5018.65万元,同比下降86.41%;筹资活动现金流净额1.93亿元,同比增加1.98亿元;投资活动现金流净额-6414.27万元,上年同期为-7.37亿元。

2024年第一季度,公司营业收入现金比为148.96%,净现比为19.17%。

资产重大变化方面,截至2024年一季度末,公司交易性金融资产较上年末增加48.89%,占公司总资产比重上升6.22个百分点;其他流动资产较上年末减少78.35%,占公司总资产比重下降3.42个百分点;其他非流动资产较上年末减少11.87%,占公司总资产比重下降2.69个百分点;存货较上年末增加14.92%,占公司总资产比重上升1.43个百分点。

负债重大变化方面,截至2024年一季度末,公司其他应付款(含利息和股利)较上年末减少15.97%,占公司总资产比重下降1.34个百分点;短期借款较上年末增加14.23%,占公司总资产比重上升0.57个百分点;应交税费较上年末减少72.04%,占公司总资产比重下降0.39个百分点;应付账款较上年末增加13.69%,占公司总资产比重上升0.16个百分点。

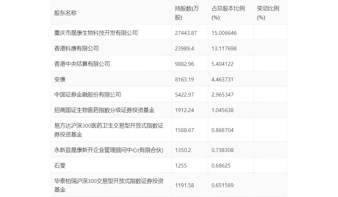
一季报显示,2024年一季度末公司十大流通股东中,新进股东为华泰柏瑞沪深300交易型开放式指数证券投资基金,取代了上年末的银华中证创新药产业交易型开放式指数证券投资基金。在具体持股比例上,安康持股有所上升,香港中央结算有限公司、易方达沪深300医药卫生交易型开放式指数证券投资基金持股有所下降。

筹码集中度方面,截至2024年一季度末,公司股东总户数为15.57万户,较上年末下降了2820户,降幅1.78%;户均持股市值由上年末的25.53万元下降至23.69万元,降幅为7.21%。
