龙虎榜 | 世荣兆业今日涨1.73%,炒股养家买入1920.53万元
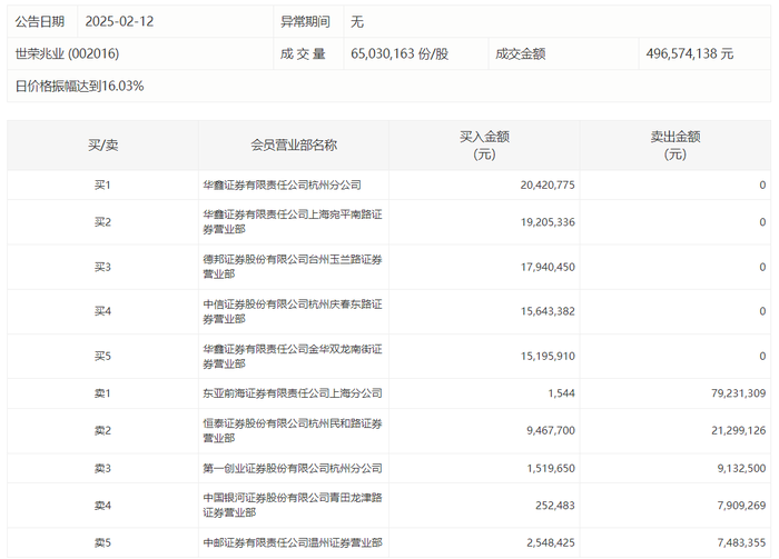
世荣兆业今日涨1.73%,龙虎榜数据显示,上榜营业部席位全天成交2.27亿元,占当日总成交金额比例为45.76%。其中,买入金额为1.02亿元,卖出金额为1.25亿元,合计净卖出2285.99万元。
具体来看,知名游资现身龙虎榜,华鑫证券杭州分公司、炒股养家(华鑫证券上海宛平南路证券营业部)分别买入2042.08万元、1920.53万元;东亚前海证券上海分公司、恒泰证券杭州民和路证券营业部分别卖出7923.13万元、2129.91万元。
