龙虎榜丨巨轮智能今日涨停,知名游资方新侠买入6017.90万元

http://ddx.gubit.cn  2023-06-30 22:47  巨轮智能(002031)公司分析

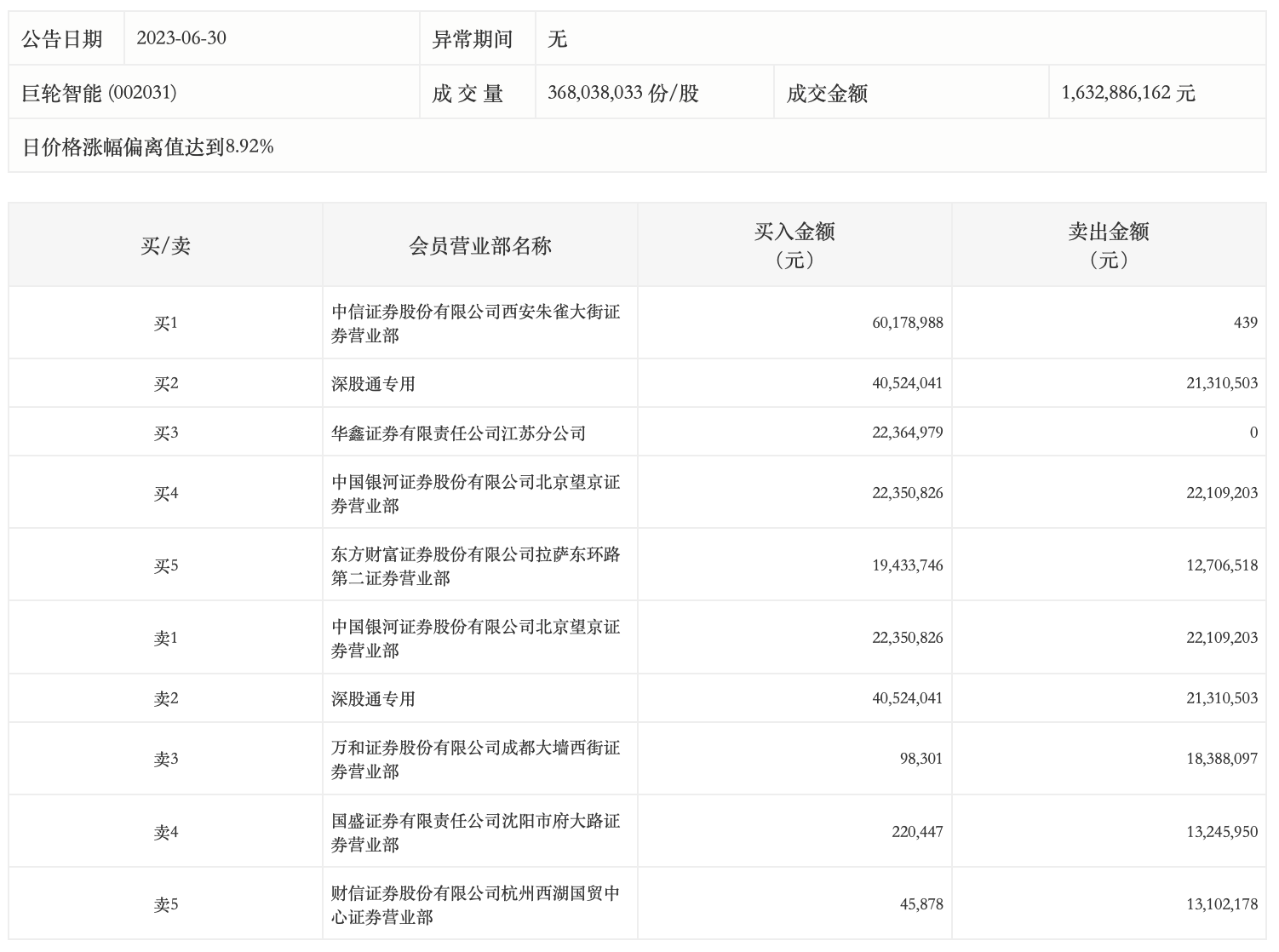
6月30日,巨轮智能今日涨停,龙虎榜数据显示,上榜营业部席位全天成交2.66亿元,占当日总成交金额比例为16.3%。其中,买入金额为1.65亿元,卖出金额为1.01亿元,合计净买入6435.43万元。

具体来看,知名游资现身龙虎榜,方新侠(中信证券西安朱雀大街证券营业部)、深股通专用分别买入6017.90万元、4052.40万元;中国银河证券北京望京证券营业部、深股通专用分别卖出2210.92万元、2131.05万元。