龙虎榜丨巨轮智能今日涨停,知名游资现身龙虎榜,作手新一买入5791.92万元,方新侠卖出2273.15万元

http://ddx.gubit.cn  2023-11-06 16:46  巨轮智能(002031)公司分析

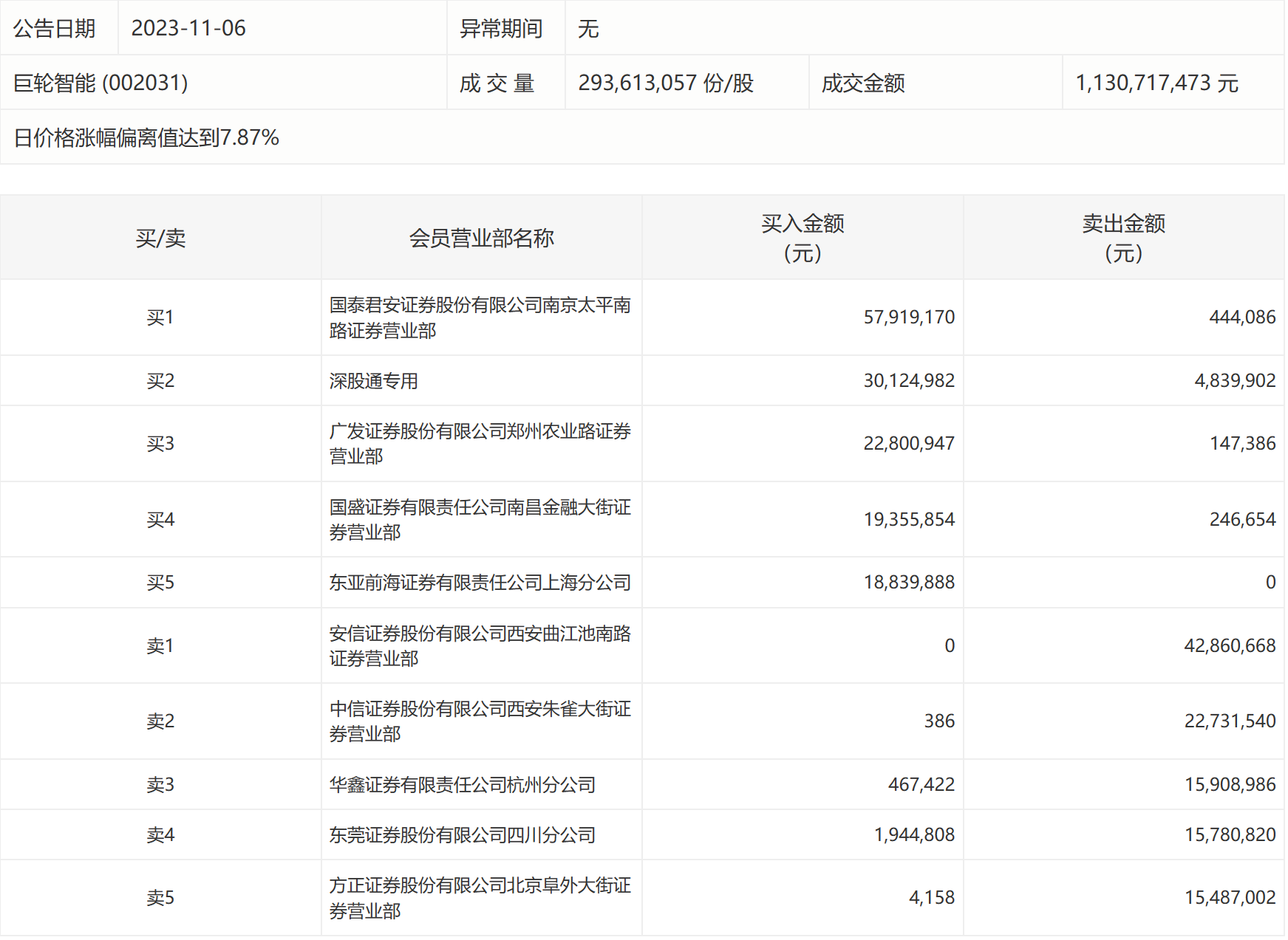
11月6日,巨轮智能今日涨停,龙虎榜数据显示,上榜营业部席位全天成交2.7亿元,占当日总成交金额比例为23.87%。其中,买入金额为1.51亿元,卖出金额为1.18亿元,合计净买入3301.06万元。

具体来看,知名游资现身龙虎榜,作手新一(国泰君安证券南京太平南路证券营业部)、深股通专用分别买入5791.92万元、3012.50万元;安信证券西安曲江池南路证券营业部、方新侠(中信证券西安朱雀大街证券营业部)分别卖出4286.07万元、2273.15万元。