龙虎榜丨巨轮智能今日涨停,知名游资章盟主净买入1239.43万元

查股网  2024-09-18 17:12  巨轮智能(002031)个股分析

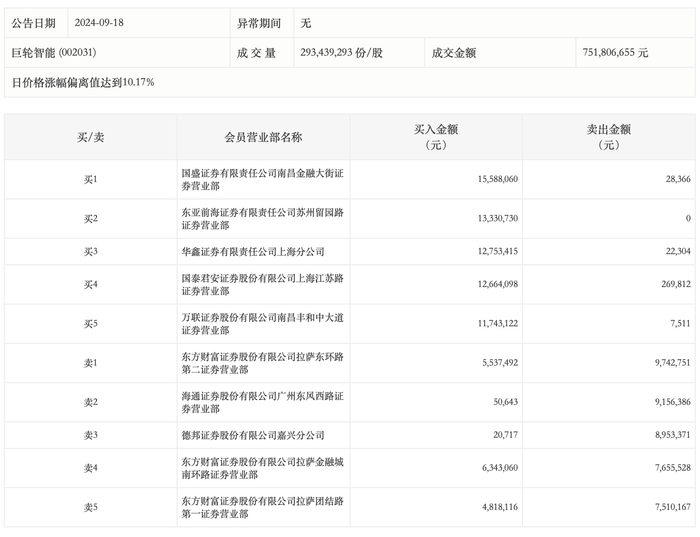
9月18日,巨轮智能今日涨停,龙虎榜数据显示,上榜营业部席位全天成交1.26亿元,占当日总成交金额比例为16.79%。其中,买入金额为8284.95万元,卖出金额为4334.62万元,合计净买入3950.33万元。

具体来看,知名游资现身龙虎榜,章盟主(国泰君安证券股份有限公司上海江苏路证券营业部)净买入1239.43万元。此外,国盛证券南昌金融大街证券营业部、东亚前海证券苏州留园路证券营业部分别买入1558.81万元、1333.07万元;东方财富证券拉萨东环路第二证券营业部、海通证券广州东风西路证券营业部分别卖出974.28万元、915.64万元。