龙虎榜 | 巨轮智能今日涨停,赵老哥净买入5028.09万元

查股网  2024-12-10 20:42  巨轮智能(002031)个股分析

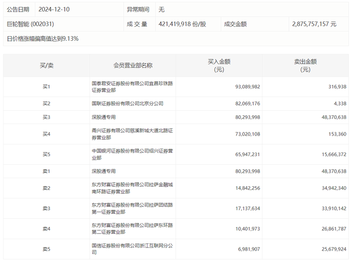
巨轮智能今日涨停,龙虎榜数据显示,上榜营业部席位全天成交6.3亿元,占当日总成交金额比例为21.9%。其中,买入金额为4.44亿元,卖出金额为1.86亿元,合计净买入2.58亿元。

具体来看,知名游资现身龙虎榜,赵老哥(中国银河证券股份有限公司绍兴证券营业部)净买入5028.09万元。此外,国泰君安证券宜昌珍珠路证券营业部、国联证券北京分公司分别买入9309.00万元、8206.92万元;深股通专用、东方财富证券拉萨金融城南环路证券营业部分别卖出4837.06万元、3494.23万元。