龙虎榜丨巨轮智能今日涨停,上榜营业部合计净买入1.21亿元

查股网  2025-01-15 20:15  巨轮智能(002031)个股分析

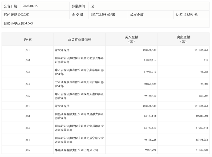
1月15日,巨轮智能今日涨停,龙虎榜数据显示,上榜营业部席位全天成交8.35亿元,占当日总成交金额比例为18.73%。其中,买入金额为4.78亿元,卖出金额为3.57亿元,合计净买入1.21亿元。

具体来看,深股通专用、国泰君安证券北京光华路证券营业部分别买入1.59亿元、8486.95万元;深股通专用、国盛证券南昌金融大街证券营业部分别卖出1.42亿元、6022.37万元。