龙虎榜丨巨轮智能今日涨停,知名游资方新侠净买入1.01亿元

查股网  2025-01-17 21:25  巨轮智能(002031)个股分析

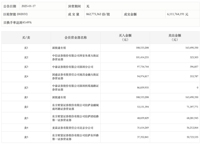
1月17日,巨轮智能今日涨停,龙虎榜数据显示,上榜营业部席位全天成交11.52亿元,占当日总成交金额比例为18.84%。其中,买入金额为7.4亿元,卖出金额为4.11亿元,合计净买入3.29亿元。

具体来看,知名游资现身龙虎榜,深股通专用、方新侠(中信证券西安朱雀大街证券营业部)分别买入1.89亿元、1.01亿元;深股通专用、东方财富证券拉萨金融城南环路证券营业部分别卖出1.63亿元、7139.78万元。