紫光国微:2023年净利同比下降3.84% 拟10派6.8元

中证智能财讯 紫光国微(002049)4月18日披露2023年年报。2023年,公司实现营业总收入75.65亿元,同比增长6.26%;归母净利润25.31亿元,同比下降3.84%;扣非净利润23.91亿元,同比下降2.88%;经营活动产生的现金流量净额为17.72亿元,同比增长2.63%;报告期内,紫光国微基本每股收益为2.9915元,加权平均净资产收益率为23.80%。公司2023年年度利润分配预案为:拟向全体股东每10股派6.8元(含税)。

以4月17日收盘价计算,紫光国微目前市盈率(TTM)约为20.93倍,市净率(LF)约为4.55倍,市销率(TTM)约为7.0倍。

公司近年市盈率(TTM)、市净率(LF)、市销率(TTM)历史分位图如下所示:



数据统计显示,紫光国微近三年营业总收入复合增长率为32.26%,在数字芯片设计行业已披露2023年数据的24家公司中排名第6。近三年净利润复合年增长率为46.41%,排名7/24。

资料显示,公司为国内主要的综合性集成电路上市公司之一,以特种集成电路、智能安全芯片为两大主业,同时布局石英晶体频率器件领域,为移动通信、金融、政务、汽车、工业、物联网等多个行业提供芯片、系统解决方案和终端产品。
分产品来看,2023年公司主营业务中,特种集成电路收入44.88亿元,同比下降5.02%,占营业收入的59.32%;智能安全芯片收入28.42亿元,同比增长36.67%,占营业收入的37.57%;晶体元器件收入1.85亿元,同比下降35.49%,占营业收入的2.45%。

截至2023年末,公司员工总数为2543人,人均创收297.50万元,人均创利99.52万元,人均薪酬59.69万元,较上年同期分别变化-6.57%、-15.45%、17.50%。

2023年,公司毛利率为61.19%,同比下降2.61个百分点;净利率为33.49%,较上年同期下降3.59个百分点。从单季度指标来看,2023年第四季度公司毛利率为53.48%,同比下降5.95个百分点,环比下降8.52个百分点;净利率为26.10%,较上年同期下降1.42个百分点,较上一季度下降7.37个百分点。

分产品看,特种集成电路、智能安全芯片、晶体元器件2023年毛利率分别为73.22%、46.14%、9.03%。

报告期内,公司前五大客户合计销售金额30.42亿元,占总销售金额比例为40.47%,公司前五名供应商合计采购金额20.72亿元,占年度采购总额比例为56.62%。


数据显示,2023年公司加权平均净资产收益率为23.80%,较上年同期下降7.26个百分点;公司2023年投入资本回报率为19.82%,较上年同期下降6.08个百分点。

2023年,公司经营活动现金流净额为17.72亿元,同比增长2.63%;筹资活动现金流净额-2.61亿元,同比减少1.56亿元;投资活动现金流净额-22.98亿元,上年同期为-8.33亿元。
进一步统计发现,2023年公司自由现金流为-2.92亿元,上年同期为10.88亿元。

2023年,公司营业收入现金比为96.63%,净现比为70.02%。

营运能力方面,2023年,公司公司总资产周转率为0.46次,上年同期为0.53次(2022年行业平均值为0.49次,公司位居同行业23/45);固定资产周转率为17.07次,上年同期为22.66次(2022年行业平均值为16.27次,公司位居同行业18/45);公司应收账款周转率、存货周转率分别为2.04次、1.24次。

2023年,公司期间费用为19.96亿元,较上年同期增加2.77亿元;期间费用率为26.38%,较上年同期上升2.23个百分点。其中,销售费用同比增长5.79%,管理费用同比增长31.34%,研发费用同比增长17.4%,财务费用由去年同期的-354.28万元变为-2826.85万元。

资产重大变化方面,截至2023年年末,公司货币资金较上年末减少24.68%,占公司总资产比重下降9.12个百分点;应收票据较上年末减少19.69%,占公司总资产比重下降4.46个百分点;应收账款较上年末增加39.31%,占公司总资产比重上升4.42个百分点;其他流动资产较上年末增加1551.24%,占公司总资产比重上升3.82个百分点。

负债重大变化方面,截至2023年年末,公司一年内到期的非流动负债较上年末增加443.99%,占公司总资产比重上升1.73个百分点;长期借款较上年末减少67.20%,占公司总资产比重下降2.04个百分点,主要系将一年内到期的长期借款转为一年内到期的非流动负债列报;应付账款较上年末增加29.84%,占公司总资产比重上升0.79个百分点;应付票据较上年末减少34.99%,占公司总资产比重下降1.29个百分点。

从存货变动来看,截至2023年年末,公司存货账面价值为25.13亿元,占净资产的21.57%,较上年末增加3.0亿元。其中,存货跌价准备为1.23亿元,计提比例为4.67%。

2023年全年,公司研发投入金额为16.33亿元,同比增长30.68%;研发投入占营业收入比例为21.58%,相比上年同期上升4.03个百分点。此外,公司全年研发投入资本化率为4.75%。


在偿债能力方面,公司2023年年末资产负债率为33.10%,相比上年末下降3.13个百分点;有息资产负债率为11.02%,相比上年末下降0.93个百分点。

2023年,公司流动比率为3.58,速动比率为2.94。

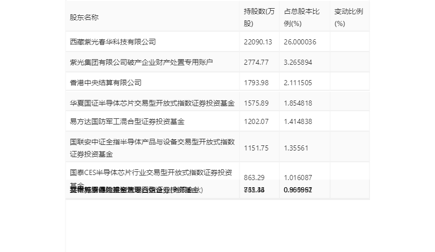
年报显示,2023年年末公司十大流通股东中,新进股东为交银施罗德先进制造混合型证券投资基金,取代了三季度末的中国人寿保险股份有限公司-传统-普通保险产品-005L-CT001沪。在具体持股比例上,香港中央结算有限公司、易方达国防军工混合型证券投资基金持股有所上升,西藏紫光春华科技有限公司、紫光集团有限公司破产企业财产处置专用账户、华夏国证半导体芯片交易型开放式指数证券投资基金、国联安中证全指半导体产品与设备交易型开放式指数证券投资基金、国泰CES半导体芯片行业交易型开放式指数证券投资基金、基本养老保险基金八零四组合、共青城清晶微投资管理合伙企业(有限合伙)持股有所下降。

筹码集中度方面,截至2023年年末,公司股东总户数为17.66万户,较三季度末下降了1143户,降幅0.64%;户均持股市值由三季度末的41.68万元下降至32.45万元,降幅为22.14%。

指标注解:
市盈率
=总市值/净利润。当公司亏损时市盈率为负,此时用市盈率估值没有实际意义,往往用市净率或市销率做参考。
市净率
=总市值/净资产。市净率估值法多用于盈利波动较大而净资产相对稳定的公司。
市销率
=总市值/营业收入。市销率估值法通常用于亏损或微利的成长型公司。
文中市盈率和市销率采用TTM方式,即以截至最近一期财报(含预报)12个月的数据计算。市净率采用LF方式,即以最近一期财报数据计算。
市盈率为负时,不显示当期分位数,会导致折线图中断。