龙虎榜丨中工国际今日跌停,深股通专用买入2037.19万元并卖出2058.15万元

http://ddx.gubit.cn  2023-05-09 22:00  中工国际(002051)公司分析

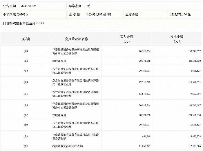
5月9日,中工国际今日跌停,龙虎榜数据显示,上榜营业部席位全天成交2.43亿元,占当日总成交金额比例为16.04%。其中,买入金额为1.04亿元,卖出金额为1.39亿元,合计净卖出3469.89万元。

具体来看,华泰证券深圳益田路荣超商务中心证券营业部、深股通专用分别卖出5374.97万元、2058.15万元;华泰证券深圳益田路荣超商务中心证券营业部、深股通专用分别买入2051.58万元、2037.19万元。