东华软件:10月16日高管薛向东减持股份合计13.59万股
证券之星消息,根据10月17日市场公开信息、上市公司公告及交易所披露数据整理,东华软件(002065)最新董监高及相关人员股份变动情况:2025年10月16日公司董事薛向东共减持公司股份13.59万股,占公司总股本为0.0042%。变动期间公司股价下跌2.13%,10月16日当日收盘报10.55元。
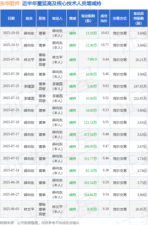
东华软件近半年内的董监高及核心技术人员增减持详情如下:

东华软件的高管列表及最新持股情况如下:

融资融券数据显示该股近5日融资净流入1077.27万,融资余额增加;融券净流入13.27万,融券余额增加。
该股最近90天内无机构评级。
以上内容为证券之星据公开信息整理,由AI算法生成(网信算备310104345710301240019号),不构成投资建议。