苏州固锝:2024年第一季度净利润742.89万元 同比下降67.53%

中证智能财讯 苏州固锝(002079)4月29日披露2024年一季报。2024年第一季度,公司实现营业总收入11.40亿元,同比增长55.88%;归母净利润742.89万元,同比下降67.53%;扣非净利润2733.75万元,同比增长47.43%;经营活动产生的现金流量净额为-2.71亿元,上年同期为-6214.71万元;报告期内,苏州固锝基本每股收益为0.0092元,加权平均净资产收益率为0.26%。


2024年第一季度,公司毛利率为11.32%,同比下降2.49个百分点;净利率为0.62%,较上年同期下降2.70个百分点。

数据显示,2024年第一季度公司加权平均净资产收益率为0.26%,较上年同期下降0.57个百分点;公司2024年第一季度投入资本回报率为0.35%,较上年同期下降0.51个百分点。

2024年第一季度,公司经营活动现金流净额为-2.71亿元,同比减少2.09亿元;筹资活动现金流净额6586.86万元,同比增加8593.86万元;投资活动现金流净额1.68亿元,上年同期为-1345.53万元。

2024年第一季度,公司营业收入现金比为57.67%,净现比为-3646.62%。

资产重大变化方面,截至2024年一季度末,公司交易性金融资产较上年末减少62.41%,占公司总资产比重下降4.63个百分点;应收账款较上年末增加19.84%,占公司总资产比重上升4.18个百分点;应收款项融资较上年末增加128.96%,占公司总资产比重上升2.52个百分点;货币资金较上年末减少10.03%,占公司总资产比重下降1.18个百分点。

负债重大变化方面,截至2024年一季度末,公司短期借款较上年末增加27.37%,占公司总资产比重上升1.67个百分点;其他流动负债较上年末减少61.65%,占公司总资产比重下降1.27个百分点;应付票据较上年末增加28.05%,占公司总资产比重上升1.11个百分点;合同负债较上年末增加422.09%,占公司总资产比重上升0.85个百分点。

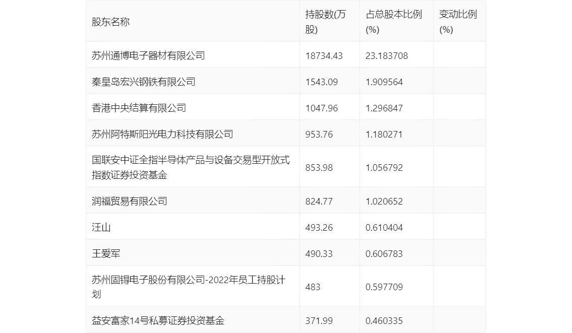
一季报显示,2024年一季度末公司十大流通股东中,持股最多的为苏州通博电子器材有限公司,占比23.18%。十大流通股东名单相比2023年年报维持不变。在具体持股比例上,香港中央结算有限公司持股有所上升,国联安中证全指半导体产品与设备交易型开放式指数证券投资基金、汪山持股有所下降。

筹码集中度方面,截至2024年一季度末,公司股东总户数为12.05万户,较上年末下降了7451户,降幅5.82%;户均持股市值由上年末的7.12万元下降至6.33万元,降幅为11.10%。
