苏州固锝:2024年上半年净利润1105.14万元 同比下降80.08%

中证智能财讯 苏州固锝(002079)8月16日披露2024年半年报。2024年上半年,公司实现营业总收入27.72亿元,同比增长61.74%;归母净利润1105.14万元,同比下降80.08%;扣非净利润3077.85万元,同比下降47.77%;经营活动产生的现金流量净额为-3.77亿元,上年同期为5006.76万元;报告期内,苏州固锝基本每股收益为0.0137元,加权平均净资产收益率为0.38%。
公告称,公司营业收入变化主要由于子公司销售业绩增长。
报告期内,公司合计非经常性损益为-1972.72万元,其中计入当期损益的政府补助为1987.32万元。

以8月15日收盘价计算,苏州固锝目前市盈率(TTM)约为58.57倍,市净率(LF)约为2.19倍,市销率(TTM)约为1.24倍。

公司近年市盈率(TTM)、市净率(LF)、市销率(TTM)历史分位图如下所示:



根据半年报,公司第二季度实现营业总收入16.31亿元,同比增长66.11%,环比增长43.08%;归母净利润362.25万元,同比下降88.89%,环比下降51.24%;扣非净利润344.1万元,同比下降91.48%,环比下降87.41%。

资料显示,公司目前的业务主要集中在半导体领域及光伏领域。
分产品来看,2024年上半年公司主营业务中,新能源材料收入22.66亿元,同比增长87.65%,占营业收入的81.77%;半导体收入4.88亿元,同比下降1.49%,占营业收入的17.59%。

2024年上半年,公司毛利率为12.09%,同比下降2.45个百分点;净利率为0.38%,较上年同期下降2.96个百分点。从单季度指标来看,2024年第二季度公司毛利率为12.63%,同比下降2.46个百分点,环比上升1.31个百分点;净利率为0.22%,较上年同期下降3.14个百分点,较上一季度下降0.40个百分点。

分产品看,新能源材料、半导体2024年上半年毛利率分别为11.73%、12.84%。

数据显示,2024年上半年公司加权平均净资产收益率为0.38%,较上年同期下降1.62个百分点;公司2024年上半年投入资本回报率为0.25%,较上年同期下降1.79个百分点。

2024年上半年,公司经营活动现金流净额为-3.77亿元,同比减少4.27亿元;筹资活动现金流净额3.16亿元,同比增加3.56亿元;投资活动现金流净额1.33亿元,上年同期为-8810.71万元。
进一步统计发现,2024年上半年公司自由现金流为-2.16亿元,上年同期为-0.83亿元。

2024年上半年,公司营业收入现金比为61.91%,净现比为-3413.67%。

营运能力方面,2024年上半年,公司公司总资产周转率为0.67次,上年同期为0.50次(2023年上半年行业平均值为0.26次,公司位居同行业4/45);固定资产周转率为4.37次,上年同期为2.82次(2023年上半年行业平均值为1.34次,公司位居同行业5/45);公司应收账款周转率、存货周转率分别为2.26次、4.95次。

2024年上半年,公司期间费用为2.28亿元,较上年同期增加6841.72万元;但期间费用率为8.22%,较上年同期下降1.09个百分点。其中,销售费用同比下降6.59%,管理费用同比增长12.75%,研发费用同比增长106.88%,财务费用同比增长213.67%。
资料显示,财务费用的变动主要因为子公司贷款规模增加。

资产重大变化方面,截至2024年上半年末,公司应收账款较上年末增加58.75%,占公司总资产比重上升10.16个百分点;交易性金融资产较上年末减少81.41%,占公司总资产比重下降6.11个百分点;应收票据较上年末减少37.48%,占公司总资产比重下降1.36个百分点;其他非流动金融资产较上年末减少17.07%,占公司总资产比重下降1.36个百分点。

负债重大变化方面,截至2024年上半年末,公司短期借款较上年末增加119.18%,占公司总资产比重上升6.50个百分点;应付票据较上年末增加85.13%,占公司总资产比重上升2.87个百分点;其他流动负债较上年末减少81.64%,占公司总资产比重下降1.70个百分点;合同负债较上年末增加504.47%,占公司总资产比重上升0.91个百分点。

从存货变动来看,截至2024年上半年末,公司存货账面价值为5.11亿元,占净资产的17.56%,较上年末增加3796.5万元。其中,存货跌价准备为2848.66万元,计提比例为5.28%。

在偿债能力方面,公司2024年上半年末资产负债率为33.06%,相比上年末上升7.77个百分点;有息资产负债率为14.63%,相比上年末上升6.33个百分点。

2024年上半年,公司流动比率为2.06,速动比率为1.69。

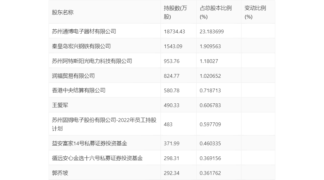
半年报显示,2024年上半年末公司十大流通股东中,新进股东为循远安心金选十六号私募证券投资基金、郭乔坡,取代了一季度末的国联安中证全指半导体产品与设备交易型开放式指数证券投资基金、汪山。在具体持股比例上,香港中央结算有限公司持股有所下降。

筹码集中度方面,截至2024年上半年末,公司股东总户数为12.18万户,较一季度末增长了1312户,增幅1.09%;户均持股市值由一季度末的6.33万元下降至5.65万元,降幅为10.74%。

指标注解:
市盈率
=总市值/净利润。当公司亏损时市盈率为负,此时用市盈率估值没有实际意义,往往用市净率或市销率做参考。
市净率
=总市值/净资产。市净率估值法多用于盈利波动较大而净资产相对稳定的公司。
市销率
=总市值/营业收入。市销率估值法通常用于亏损或微利的成长型公司。
文中市盈率和市销率采用TTM方式,即以截至最近一期财报(含预报)12个月的数据计算。市净率采用LF方式,即以最近一期财报数据计算。
市盈率为负时,不显示当期分位数,会导致折线图中断。