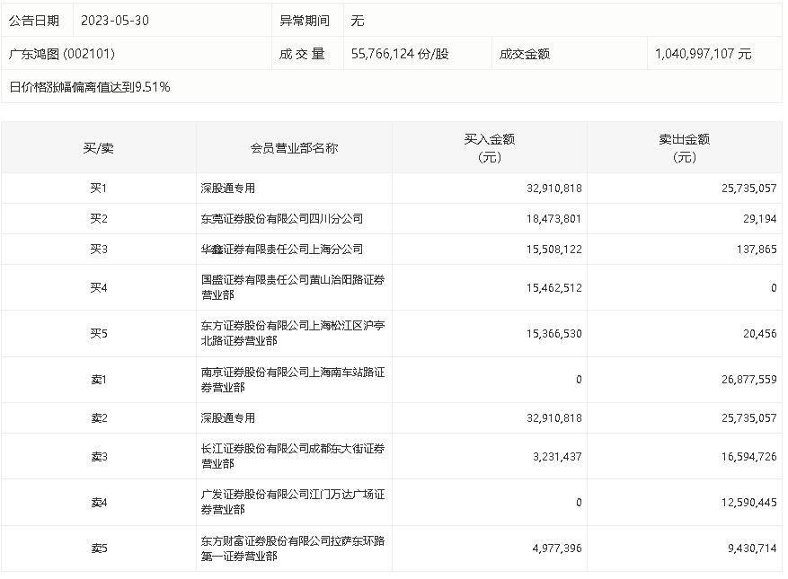
龙虎榜丨广东鸿图今日涨停,深股通专用买入3291.08万元并卖出2573.51万元

http://ddx.gubit.cn  2023-05-30 16:43  广东鸿图(002101)公司分析

5月30日,广东鸿图今日涨停,龙虎榜数据显示,上榜营业部席位全天成交1.97亿元,占当日总成交金额比例为18.96%。其中,买入金额为1.06亿元,卖出金额为9141.6万元,合计净买入1451.46万元。

具体来看,深股通专用、东莞证券四川分公司分别买入3291.08万元、1847.38万元;南京证券上海南车站路证券营业部、深股通专用分别卖出2687.76万元、2573.51万元。