龙虎榜丨三变科技今日涨0.97%,知名游资方新侠、章盟主分别卖出4518.27万元、1428.80万元

http://ddx.gubit.cn  2023-03-13 17:11  三变科技(002112)公司分析

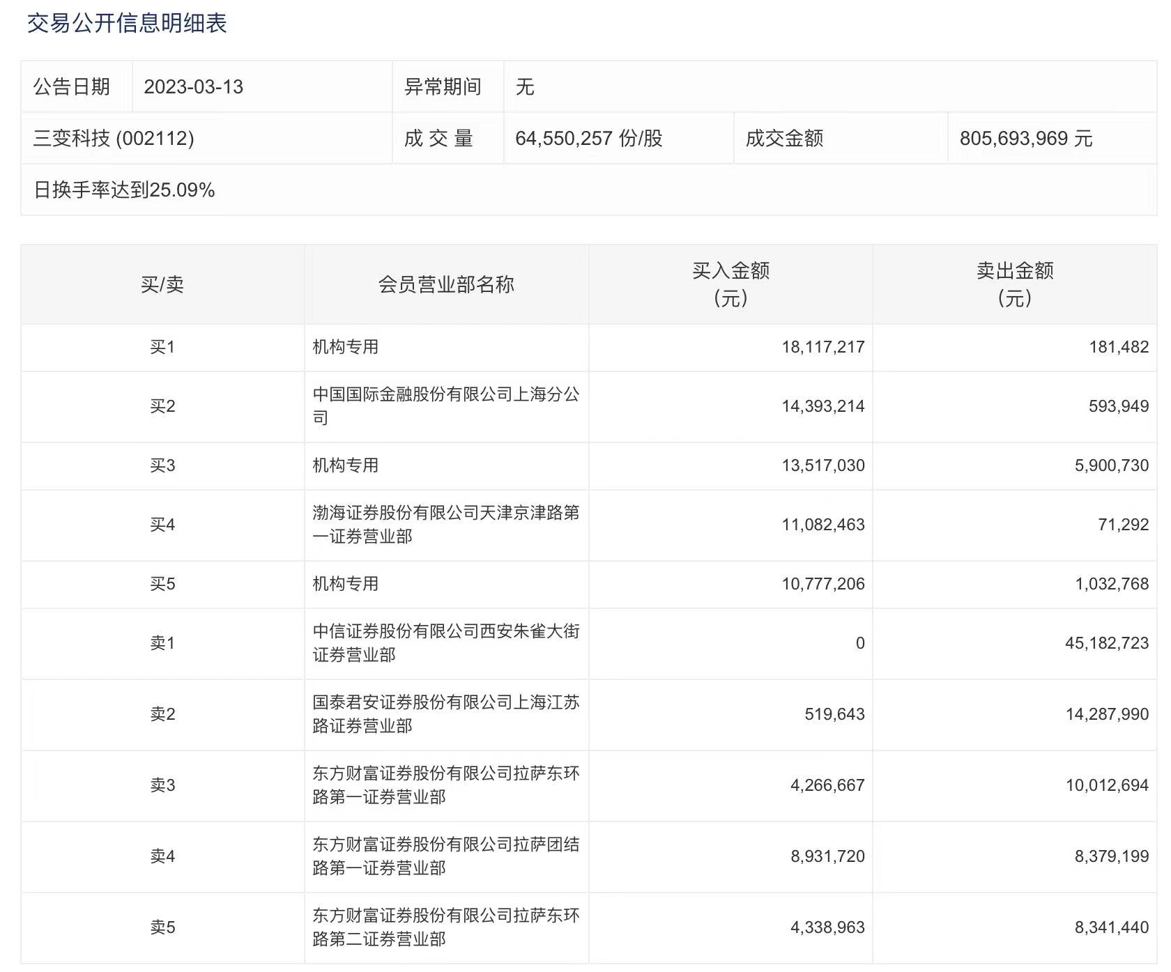
3月13日,三变科技今日涨0.97%,龙虎榜数据显示,上榜营业部席位全天成交1.8亿元,占当日总成交金额比例为22.33%。其中,买入金额为8594.41万元,卖出金额为9398.43万元,合计净卖出804.01万元。

具体来看,机构买入4241.15万元,卖出711.5万元,合计净买入3529.65万元。此外,知名游资现身龙虎榜,中国国际金融上海分公司、渤海证券天津京津路第一证券营业部分别买入1439.32万元、1108.25万元;方新侠(中信证券西安朱雀大街证券营业部)、章盟主(国泰君安证券上海江苏路证券营业部)分别卖出4518.27万元、1428.80万元。