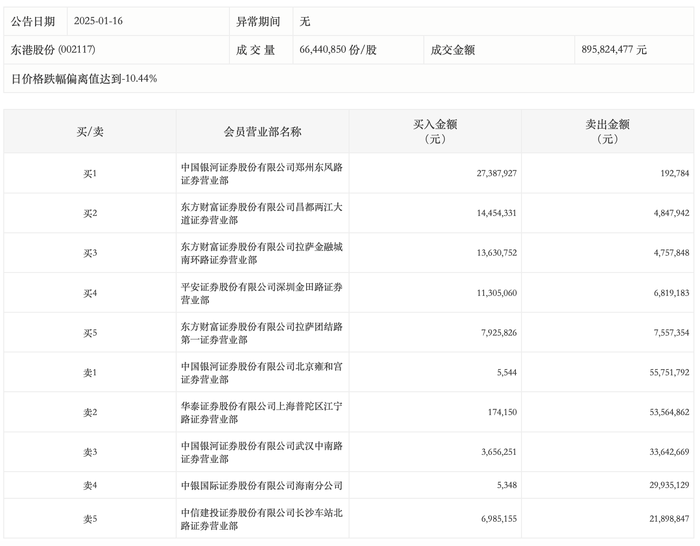
龙虎榜丨东港股份今日跌停,上榜营业部合计净卖出1.33亿元

查股网  2025-01-16 21:01  东港股份(002117)个股分析

1月16日,东港股份今日跌停,龙虎榜数据显示,上榜营业部席位全天成交3.04亿元,占当日总成交金额比例为33.99%。其中,买入金额为8553.03万元,卖出金额为2.19亿元,合计净卖出1.33亿元。

具体来看,中国银河证券北京雍和宫证券营业部、华泰证券上海普陀区江宁路证券营业部分别卖出5575.18万元、5356.49万元;中国银河证券郑州东风路证券营业部、东方财富证券昌都两江大道证券营业部分别买入2738.79万元、1445.43万元。