韵达股份:2024年上半年净利润10.41亿元 同比增长19.8%

中证智能财讯 韵达股份(002120)8月29日披露2024年半年度报告。2024年上半年,公司实现营业收入232.52亿元,同比增长7.78%;归母净利润10.41亿元,同比增长19.80%;扣非净利润8.32亿元,同比增长5.42%;经营活动产生的现金流量净额为20.21亿元,同比增长75.46%;报告期内,韵达股份基本每股收益为0.3596元,加权平均净资产收益率为5.29%。

以8月28日收盘价计算,韵达股份目前市盈率(TTM)约为10.24倍,市净率(LF)约为0.93倍,市销率(TTM)约为0.39倍。

公司近年市盈率(TTM)、市净率(LF)、市销率(TTM)历史分位图如下所示:



根据半年报,公司第二季度实现营业总收入120.96亿元,同比增长8.98%,环比增长8.43%;归母净利润6.28亿元,同比增长23.15%,环比增长52.30%;扣非净利润4.47亿元,同比增长0.70%,环比增长16.17%。

2024年上半年,公司毛利率为10.57%,同比下降0.37个百分点;净利率为4.54%,较上年同期上升0.49个百分点。从单季度指标来看,2024年第二季度公司毛利率为10.79%,同比下降0.49个百分点,环比上升0.46个百分点;净利率为5.25%,较上年同期上升0.66个百分点,较上一季度上升1.49个百分点。

数据显示,2024年上半年公司加权平均净资产收益率为5.29%,较上年同期增长0.33个百分点;公司2024年上半年投入资本回报率为3.66%,较上年同期增长0.29个百分点。

2024年上半年,公司经营活动现金流净额为20.21亿元,同比增长75.46%;筹资活动现金流净额-9.93亿元,同比减少17.16亿元;投资活动现金流净额-3.55亿元,上年同期为-29.35亿元。
进一步统计发现,2024年上半年公司自由现金流为3.36亿元,上年同期为-26.10亿元。

2024年上半年,公司营业收入现金比为110.35%,净现比为194.18%。

营运能力方面,2024年上半年,公司总资产周转率为0.61次,上年同期为0.56次(2023年上半年行业平均值为0.46次,公司位居同行业21/45);固定资产周转率为1.89次,上年同期为1.57次(2023年上半年行业平均值为5.31次,公司位居同行业35/45);公司应收账款周转率、存货周转率分别为22.39次、131.19次。

2024年上半年,公司期间费用为10.44亿元,较上年同期减少1.75亿元;期间费用率为4.49%,较上年同期下降1.16个百分点。其中,销售费用同比下降28.72%,管理费用同比下降3.96%,研发费用同比下降15.44%,财务费用同比下降33.63%。
资料显示,财务费用的变动主要因为报告期内汇兑损益减少。

资产重大变化方面,截至2024年上半年末,公司交易性金融资产较上年末增加26.22%,占公司总资产比重上升2.56个百分点;固定资产较上年末减少5.59%,占公司总资产比重下降2.13个百分点;长期股权投资较上年末减少83.50%,占公司总资产比重下降1.87个百分点;货币资金较上年末增加14.32%,占公司总资产比重上升1.74个百分点。

负债重大变化方面,截至2024年上半年末,公司应付账款较上年末减少18.24%,占公司总资产比重下降1.75个百分点;其他应付款(含利息和股利)较上年末增加60.03%,占公司总资产比重上升1.20个百分点;短期借款较上年末增加25.78%,占公司总资产比重上升1.15个百分点;长期借款较上年末减少28.30%,占公司总资产比重下降0.66个百分点。

从存货变动来看,截至2024年上半年末,公司存货账面价值为1.59亿元,占净资产的0.81%。根据财报,公司本期没有计提存货跌价准备。

在偿债能力方面,公司2024年上半年末资产负债率为48.28%,相比上年末下降1.02个百分点;有息资产负债率为29.47%,相比上年末下降0.53个百分点。

2024年上半年,公司流动比率为1.50,速动比率为1.48。

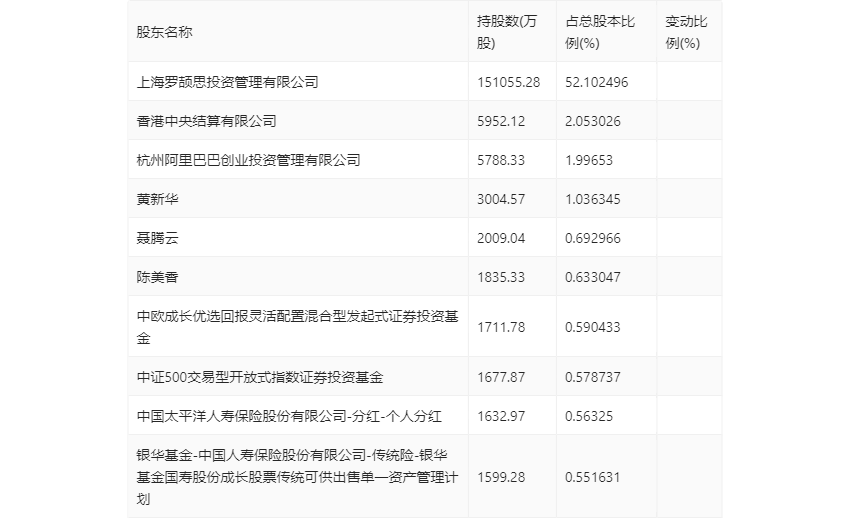
半年报显示,2024年上半年末的公司十大流通股东中,持股最多的为上海罗颉思投资管理有限公司,占比52.102%。在具体持股比例上,香港中央结算有限公司、中欧成长优选回报灵活配置混合型发起式证券投资基金、中证500交易型开放式指数证券投资基金、中国太平洋人寿保险股份有限公司-分红-个人分红持股有所上升,上海罗颉思投资管理有限公司持股有所下降。

值得注意的是,根据半年报数据,韵达股份12.16%股份处于质押状态。其中,第一大股东上海罗颉思投资管理有限公司质押3.41亿股公司股份,占其全部持股的22.55%。
筹码集中度方面,截至2024年上半年末,公司股东总户数为7.57万户,较一季度末下降了1.2万户,降幅13.70%;户均持股市值由一季度末的24.13万元上升至29.64万元,增幅为22.83%。

指标注解:
市盈率
=总市值/净利润。当公司亏损时市盈率为负,此时用市盈率估值没有实际意义,往往用市净率或市销率做参考。
市净率
=总市值/净资产。市净率估值法多用于盈利波动较大而净资产相对稳定的公司。
市销率
=总市值/营业收入。市销率估值法通常用于亏损或微利的成长型公司。
文中市盈率和市销率采用TTM方式,即以截至最近一期财报(含预报)12个月的数据计算。市净率采用LF方式,即以最近一期财报数据计算。
市盈率为负时,不显示当期分位数,会导致折线图中断。