龙虎榜 | 汇洲智能今日涨停,著名刺客净买入2515.37万元

查股网  2024-12-13 21:22  汇洲智能(002122)个股分析

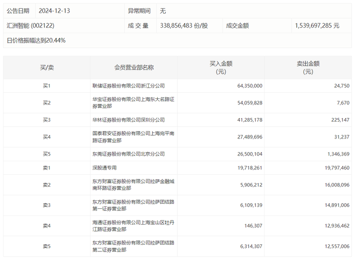
汇洲智能今日涨停,龙虎榜数据显示,上榜营业部席位全天成交3.3亿元,占当日总成交金额比例为21.41%。其中,买入金额为2.52亿元,卖出金额为7782.52万元,合计净买入1.74亿元。

具体来看,知名游资现身龙虎榜,著名刺客(东莞证券股份有限公司北京分公司)净买入2515.37万元。此外,联储证券浙江分公司、华宝证券上海东大名路证券营业部分别买入6435.00万元、5405.98万元;深股通专用、东方财富证券拉萨金融城南环路证券营业部分别卖出1979.75万元、1600.81万元。