龙虎榜 | 汇洲智能今日涨2.9%,知名游资方新侠净卖出5871.44万元

查股网  2024-12-23 20:56  汇洲智能(002122)个股分析

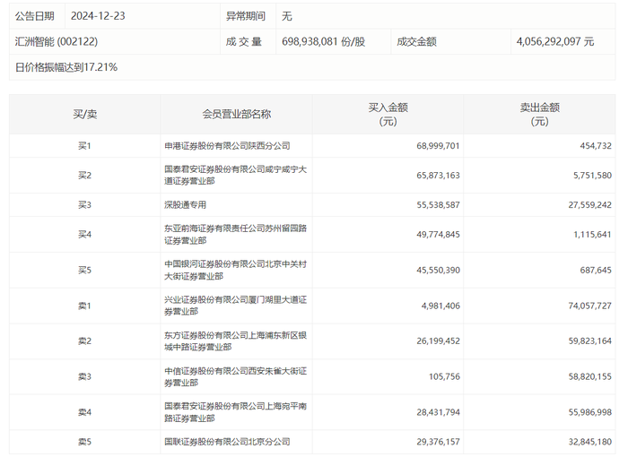
汇洲智能今日涨2.9%,龙虎榜数据显示,上榜营业部席位全天成交6.92亿元,占当日总成交金额比例为17.06%。其中,买入金额为3.75亿元,卖出金额为3.17亿元,合计净买入5772.92万元。

具体来看,知名游资现身龙虎榜,方新侠(中信证券股份有限公司西安朱雀大街证券营业部)净卖出5871.44万元。此外,申港证券陕西分公司、国泰君安证券咸宁咸宁大道证券营业部分别买入6899.97万元、6587.32万元;兴业证券厦门湖里大道证券营业部、东方证券上海浦东新区银城中路证券营业部分别卖出7405.77万元、5982.32万元。