龙虎榜 | 汇洲智能今日跌停,知名游资章盟主买入2361.55万元

查股网  2024-12-24 21:12  汇洲智能(002122)个股分析

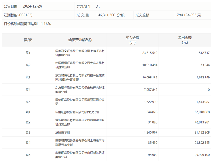
汇洲智能今日跌停,龙虎榜数据显示,上榜营业部席位全天成交2.45亿元,占当日总成交金额比例为30.83%。其中,买入金额为6255.79万元,卖出金额为1.82亿元,合计净卖出1.2亿元。

具体来看,知名游资现身龙虎榜,申港证券陕西分公司、东亚前海证券苏州留园路证券营业部分别卖出5794.81万元、4281.33万元;章盟主(国泰君安证券上海江苏路证券营业部)、中国银河证券大连人民路证券营业部分别买入2361.55万元、1091.05万元。