龙虎榜 | 汇洲智能今日跌停,赵老哥净卖出2689.68万元

查股网  2024-12-26 21:06  汇洲智能(002122)个股分析

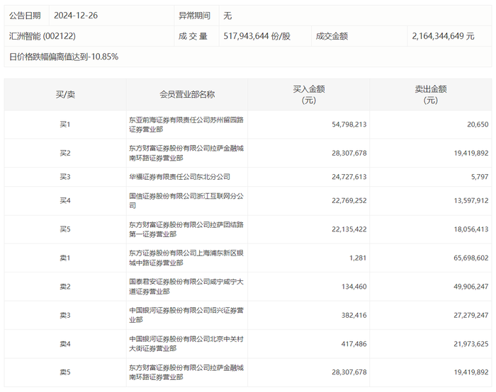
汇洲智能今日跌停,龙虎榜数据显示,上榜营业部席位全天成交3.7亿元,占当日总成交金额比例为17.08%。其中,买入金额为1.54亿元,卖出金额为2.16亿元,合计净卖出6228.46万元。

具体来看,知名游资现身龙虎榜,赵老哥(中国银河证券股份有限公司绍兴证券营业部)净卖出2689.68万元。此外,东方证券上海浦东新区银城中路证券营业部、国泰君安证券咸宁咸宁大道证券营业部分别卖出6569.86万元、4990.62万元;东亚前海证券苏州留园路证券营业部、东方财富证券拉萨金融城南环路证券营业部分别买入5479.82万元、2830.77万元。