龙虎榜丨梦网科技今日跌停,上榜营业部合计净卖出5.75亿元

查股网  2025-02-17 20:24  梦网科技(002123)个股分析

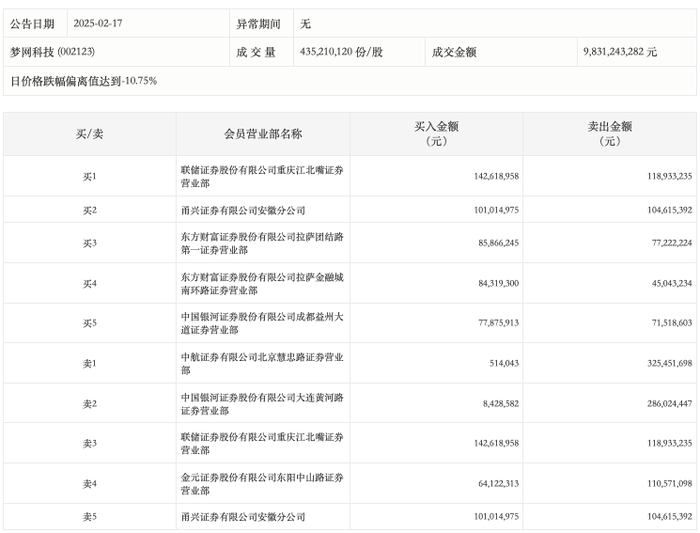
2月17日,梦网科技今日跌停,全天换手率达60.85%,振幅达20.04%。龙虎榜数据显示,营业部席位合计净卖出5.75亿元。其中,中航证券有限公司北京慧忠路证券营业部、中国银河证券大连黄河路证券营业部分别卖出3.25亿元、2.86亿元;联储证券重庆江北嘴证券营业部、甬兴证券有限公司安徽分公司分别买入1.43亿元、1.01亿元。