南极电商:2024年第一季度净利润4774.28万元 同比增长33.92%

中证智能财讯 南极电商(002127)4月26日披露2024年一季报。2024年第一季度,公司实现营业总收入7.15亿元,同比增长16.99%;归母净利润4774.28万元,同比增长33.92%;扣非净利润3764.35万元,同比增长14.27%;经营活动产生的现金流量净额为-4.22亿元,上年同期为-2.01亿元;报告期内,南极电商基本每股收益为0.0199元,加权平均净资产收益率为1.04%。

2024年第一季度,公司毛利率为14.89%,同比下降0.16个百分点;净利率为6.59%,较上年同期上升0.84个百分点。

数据显示,2024年第一季度公司加权平均净资产收益率为1.04%,较上年同期增长0.23个百分点;公司2024年第一季度投入资本回报率为0.81%,较上年同期增长0.18个百分点。

2024年第一季度,公司经营活动现金流净额为-4.22亿元,同比减少2.21亿元;筹资活动现金流净额-385.88万元,同比增加78.03万元;投资活动现金流净额2.85亿元,上年同期为-7.99亿元。

2024年第一季度,公司营业收入现金比为116.54%,净现比为-883.77%。

资产重大变化方面,截至2024年一季度末,公司应收账款较上年末增加93.23%,占公司总资产比重上升6.47个百分点;交易性金融资产较上年末减少40.25%,占公司总资产比重下降5.30个百分点;货币资金较上年末减少5.31%,占公司总资产比重下降2.53个百分点;预付款项较上年末增加19.29%,占公司总资产比重上升1.28个百分点。

负债重大变化方面,截至2024年一季度末,公司合同负债较上年末减少3.58%,占公司总资产比重下降0.25个百分点;应付账款较上年末减少22.05%,占公司总资产比重下降0.20个百分点;其他应付款(含利息和股利)较上年末增加2.13%,占公司总资产比重上升0.08个百分点;租赁负债较上年末减少15.21%,占公司总资产比重下降0.07个百分点。

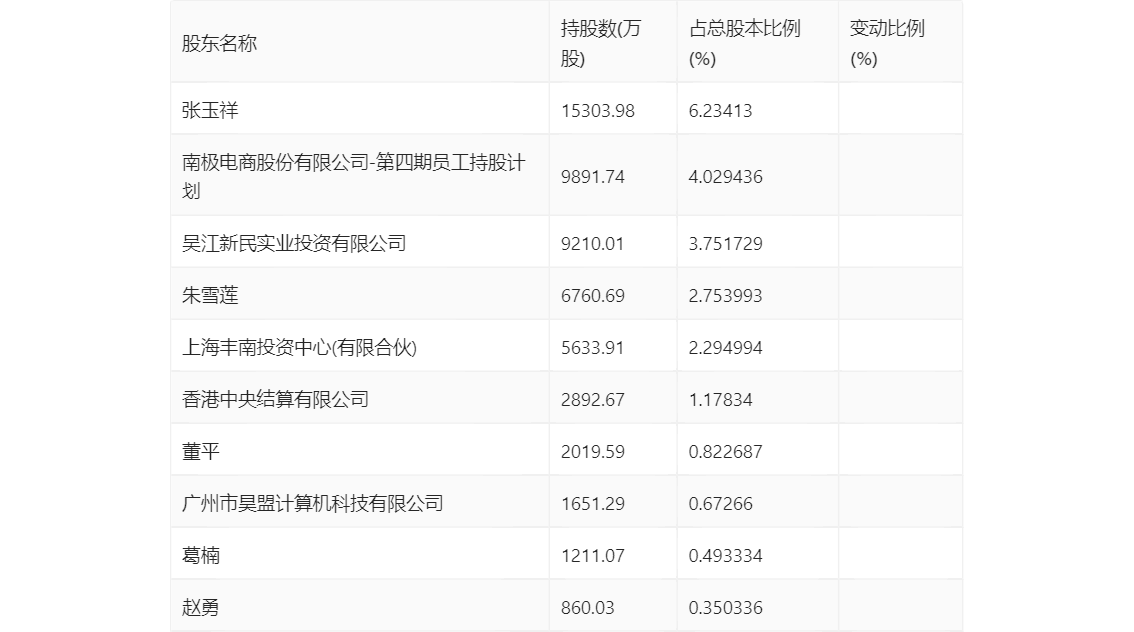
一季报显示,2024年一季度末公司十大流通股东中,持股最多的为张玉祥,占比6.23%。十大流通股东名单相比2023年年报维持不变。在具体持股比例上,香港中央结算有限公司、董平持股有所上升,吴江新民实业投资有限公司、赵勇持股有所下降。

筹码集中度方面,截至2024年一季度末,公司股东总户数为11.17万户,较上年末下降了2.46万户,降幅18.06%;户均持股市值由上年末的7.01万元下降至6.59万元,降幅为5.99%。
