利欧股份:2024年第一季度亏损2.38亿元

中证智能财讯 利欧股份(002131)4月29日披露2024年一季报。2024年第一季度,公司实现营业总收入48.41亿元,同比下降6.81%;归母净利润亏损2.38亿元,上年同期盈利5.97亿元;扣非净利润4026.83万元,同比下降31.41%;经营活动产生的现金流量净额为-5.46亿元,上年同期为4.09亿元;报告期内,利欧股份基本每股收益为-0.04元,加权平均净资产收益率为-1.76%。


2024年第一季度,公司毛利率为7.80%,同比上升1.37个百分点;净利率为-5.13%,较上年同期下降16.56个百分点。

数据显示,2024年第一季度公司加权平均净资产收益率为-1.76%,较上年同期下降6.77个百分点;公司2024年第一季度投入资本回报率为-1.84%,较上年同期下降5.99个百分点。

2024年第一季度,公司经营活动现金流净额为-5.46亿元,同比减少9.55亿元,主要系本期销售回款较上年同期减少以及支付供应商款项较上年同期增加所致;筹资活动现金流净额3970.82万元,同比减少3926.25万元,主要系本期银行借款净增加金额较上年同期减少所致;投资活动现金流净额-13.16亿元,上年同期为-7389.6万元,主要系本期购买理财产品等所致。

2024年第一季度,公司营业收入现金比为137.29%。

资产重大变化方面,截至2024年一季度末,公司货币资金较上年末减少38.37%,占公司总资产比重下降7.09个百分点;交易性金融资产较上年末增加62.01%,占公司总资产比重上升5.80个百分点;其他非流动金融资产较上年末减少12.17%,占公司总资产比重下降1.68个百分点;预付款项较上年末增加22.94%,占公司总资产比重上升0.45个百分点。

负债重大变化方面,截至2024年一季度末,公司应付账款较上年末减少22.23%,占公司总资产比重下降2.24个百分点;合同负债较上年末减少21.93%,占公司总资产比重下降0.40个百分点;应付票据较上年末减少15.48%,占公司总资产比重下降0.32个百分点;短期借款较上年末增加2.98%,占公司总资产比重上升1.06个百分点。

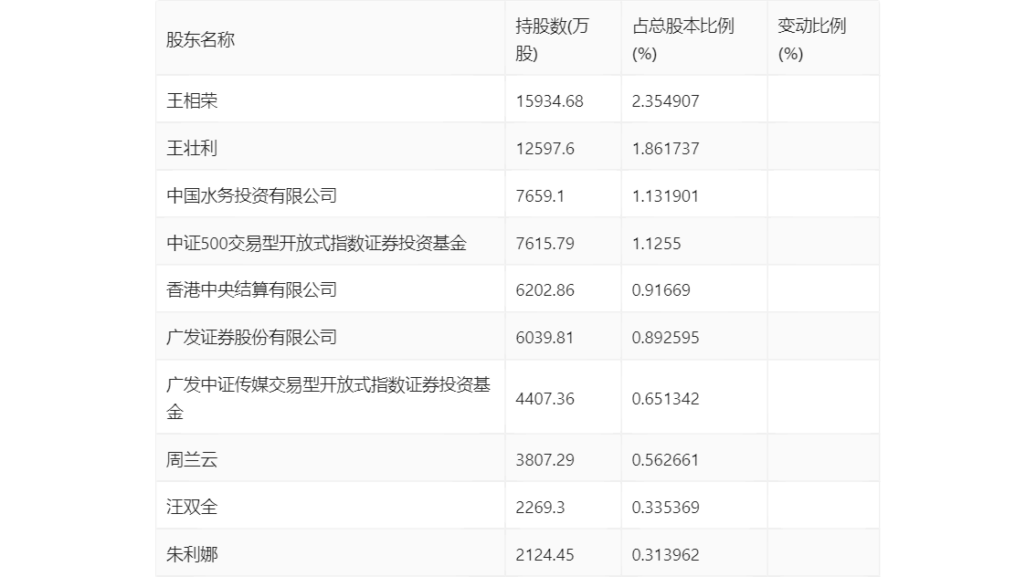
一季报显示,2024年一季度末公司十大流通股东中,新进股东为广发证券股份有限公司、朱利娜,取代了上年末的江富琴。在具体持股比例上,中证500交易型开放式指数证券投资基金、汪双全持股有所上升,香港中央结算有限公司、广发中证传媒交易型开放式指数证券投资基金持股有所下降。

筹码集中度方面,截至2024年一季度末,公司股东总户数为21.43万户,较上年末增长了1923户,增幅0.91%;户均持股市值由上年末的7.26万元下降至7.07万元,降幅为2.62%。
