广宇集团:2023年净利润同比下降66.37% 拟10派0.5元

中证智能财讯 广宇集团(002133)4月30日披露2023年年报。2023年,公司实现营业总收入92.33亿元,同比增长53.25%;归母净利润3801.45万元,同比下降66.37%;扣非净利润3192.99万元,同比下降69.91%;经营活动产生的现金流量净额为15.45亿元,上年同期为-5.23亿元;报告期内,广宇集团基本每股收益为0.05元,加权平均净资产收益率为0.96%。公司2023年年度利润分配预案为:拟向全体股东每10股派0.5元(含税)。

以4月29日收盘价计算,广宇集团目前市盈率(TTM)约为56.0倍,市净率(LF)约为0.54倍,市销率(TTM)约为0.23倍。

公司近年市盈率(TTM)、市净率(LF)、市销率(TTM)历史分位图如下所示:



数据统计显示,广宇集团近三年营业总收入复合增长率为20.80%,在住宅开发行业已披露2023年数据的77家公司中排名第16。近三年净利润复合年增长率为-49.47%,排名50/77。

资料显示,公司主要从事房地产投资、房地产开发经营、商品房销售及出租、实业投资、室内外装饰、工程技术咨询、仓储服务,建筑材料的销售。
分产品来看,2023年公司主营业务中,房地产收入63.38亿元,同比增长196.02%,占营业收入的68.65%;贸易收入26.35亿元,同比下降26.74%,占营业收入的28.53%。

截至2023年末,公司员工总数为462人,人均创收1998.51万元,人均创利8.23万元,人均薪酬31.32万元,较上年同期分别变化36.00%、-70.15%、-15.26%。
2023年,公司毛利率为8.58%,同比上升1.71个百分点;净利率为1.51%,较上年同期下降0.41个百分点。从单季度指标来看,2023年第四季度公司毛利率为6.53%,同比下降7.31个百分点,环比下降0.49个百分点;净利率为-8.80%,较上年同期上升2.46个百分点,较上一季度下降10.13个百分点。

分产品看,房地产、贸易2023年毛利率分别为10.63%、2.06%。

报告期内,公司前五大客户合计销售金额7.87亿元,占总销售金额比例为8.53%,公司前五名供应商合计采购金额15.95亿元,占年度采购总额比例为18.90%。

数据显示,2023年公司加权平均净资产收益率为0.96%,较上年同期下降1.91个百分点;公司2023年投入资本回报率为2.23%,较上年同期增长0.34个百分点。

2023年,公司经营活动现金流净额为15.45亿元,同比增加20.68亿元;筹资活动现金流净额-16.31亿元,同比减少13.95亿元;投资活动现金流净额4.70亿元,上年同期为2.4亿元。
进一步统计发现,2023年公司自由现金流为12.85亿元,相比上年同期增长61.89%。

2023年,公司营业收入现金比为90.90%,净现比为4065.52%。

营运能力方面,2023年,公司公司总资产周转率为0.54次,上年同期为0.30次(2022年行业平均值为0.18次,公司位居同行业12/86);固定资产周转率为18.88次,上年同期为42.23次(2022年行业平均值为22.55次,公司位居同行业20/86);公司应收账款周转率、存货周转率分别为52.63次、0.73次。

2023年,公司期间费用为3.14亿元,同比增长2961.25万元;但期间费用率为3.4%,同比下降1.32个百分点。其中,销售费用同比增长22.77%,管理费用同比增长0.82%,财务费用同比增长19.62%。

资产重大变化方面,截至2023年年末,公司存货较上年末减少39.75%,占公司总资产比重下降10.02个百分点;货币资金较上年末增加11.45%,占公司总资产比重上升5.64个百分点;固定资产较上年末增加177.22%,占公司总资产比重上升3.82个百分点;应收账款较上年末增加108.89%,占公司总资产比重上升1.12个百分点。

负债重大变化方面,截至2023年年末,公司合同负债较上年末减少55.97%,占公司总资产比重下降12.48个百分点,主要系本期房产项目交付结转;长期借款较上年末减少49.22%,占公司总资产比重下降4.22个百分点;一年内到期的非流动负债较上年末增加123.46%,占公司总资产比重上升5.43个百分点;其他应付款(含利息和股利)较上年末减少20.12%,占公司总资产比重上升1.34个百分点。

从存货变动来看,截至2023年年末,公司存货账面价值为86.34亿元,占净资产的217.89%,较上年末减少56.96亿元。其中,存货跌价准备为2.69亿元,计提比例为3.02%。

在偿债能力方面,公司2023年年末资产负债率为66.99%,相比上年末下降10.42个百分点;有息资产负债率为20.17%,相比上年末上升1.72个百分点。

2023年,公司流动比率为1.54,速动比率为0.43。

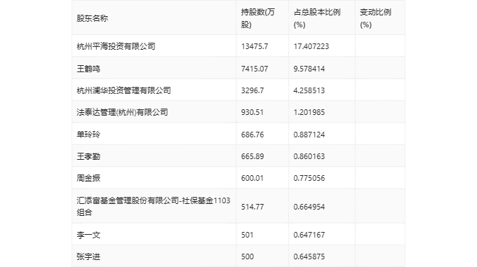
年报显示,2023年年末公司十大流通股东中,新进股东为李一文、张宇进,取代了三季度末的严建光、中信证券股份有限公司。在具体持股比例上,法泰达管理(杭州)有限公司持股有所上升,汇添富基金管理股份有限公司-社保基金1103组合持股有所下降。

筹码集中度方面,截至2023年年末,公司股东总户数为3.23万户,较三季度末下降了1629户,降幅4.80%;户均持股市值由三季度末的7.81万元上升至8.37万元,增幅为7.17%。

指标注解:
市盈率
=总市值/净利润。当公司亏损时市盈率为负,此时用市盈率估值没有实际意义,往往用市净率或市销率做参考。
市净率
=总市值/净资产。市净率估值法多用于盈利波动较大而净资产相对稳定的公司。
市销率
=总市值/营业收入。市销率估值法通常用于亏损或微利的成长型公司。
文中市盈率和市销率采用TTM方式,即以截至最近一期财报(含预报)12个月的数据计算。市净率采用LF方式,即以最近一期财报数据计算。
市盈率为负时,不显示当期分位数,会导致折线图中断。