天津普林:2024年第一季度净利润996.82万元 同比增长42.07%

中证智能财讯 天津普林(002134)4月26日披露2024年一季报。2024年第一季度,公司实现营业总收入2.47亿元,同比增长70.42%;归母净利润996.82万元,同比增长42.07%;扣非净利润986.28万元,同比增长52.11%;经营活动产生的现金流量净额为-2301.22万元,上年同期为2817.21万元;报告期内,天津普林基本每股收益为0.04元,加权平均净资产收益率为2.18%。

2024年第一季度,公司毛利率为17.14%,同比上升1.58个百分点;净利率为5.42%,较上年同期上升0.57个百分点。

数据显示,2024年第一季度公司加权平均净资产收益率为2.18%,较上年同期增长0.61个百分点;公司2024年第一季度投入资本回报率为1.49%,较上年同期下降0.20个百分点。

2024年第一季度,公司经营活动现金流净额为-2301.22万元,同比减少5118.43万元;筹资活动现金流净额2665.55万元,同比增加388.38万元;投资活动现金流净额-9320.48万元,上年同期为-2843.57万元。

2024年第一季度,公司营业收入现金比为94.63%,净现比为-230.86%。

资产重大变化方面,截至2024年一季度末,公司货币资金较上年末减少58.83%,占公司总资产比重下降5.64个百分点;在建工程较上年末增加19.40%,占公司总资产比重上升3.96个百分点;其他非流动资产较上年末增加137.45%,占公司总资产比重上升1.98个百分点;应收账款较上年末增加5.68%,占公司总资产比重上升0.49个百分点。

负债重大变化方面,截至2024年一季度末,公司应付账款较上年末增加15.76%,占公司总资产比重上升2.44个百分点;长期借款较上年末增加19.50%,占公司总资产比重上升1.68个百分点;其他应付款(含利息和股利)较上年末减少28.51%,占公司总资产比重下降1.85个百分点;应付职工薪酬较上年末减少44.69%,占公司总资产比重下降0.76个百分点。

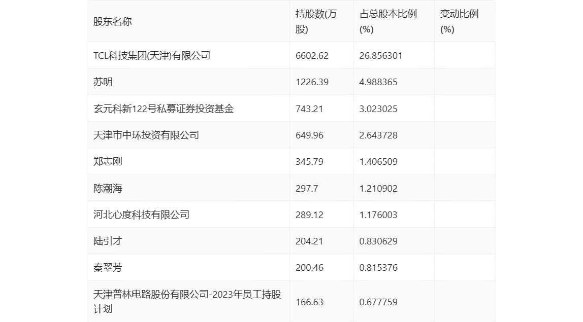
一季报显示,2024年一季度末公司十大流通股东中,新进股东为河北心度科技有限公司,取代了上年末的大成中证360互联网+大数据100指数型证券投资基金。在具体持股比例上,玄元科新122号私募证券投资基金、陆引才、秦翠芳持股有所上升,苏明、郑志刚持股有所下降。

筹码集中度方面,截至2024年一季度末,公司股东总户数为2.01万户,较上年末增长了2205户,增幅12.29%;户均持股市值由上年末的15.03万元下降至10.36万元,降幅为31.07%。
