北纬科技:2024年第一季度净利润217.71万元 同比增长52.09%

中证智能财讯 北纬科技(002148)4月30日披露2024年一季报。2024年第一季度,公司实现营业总收入6469.95万元,同比增长0.32%;归母净利润217.71万元,同比增长52.09%;扣非净利润亏损92.15万元,上年同期亏损239.55万元;经营活动产生的现金流量净额为962.65万元,同比下降38.01%;报告期内,北纬科技基本每股收益为0.0046元,加权平均净资产收益率为0.21%。


2024年第一季度,公司毛利率为41.90%,同比下降0.44个百分点;净利率为3.96%,较上年同期上升1.80个百分点。

数据显示,2024年第一季度公司加权平均净资产收益率为0.21%,较上年同期增长0.09个百分点;公司2024年第一季度投入资本回报率为0.18%,较上年同期增长0.05个百分点。

2024年第一季度,公司经营活动现金流净额为962.65万元,同比下降38.01%;筹资活动现金流净额-1330.16万元,同比减少1328.22万元;投资活动现金流净额227.13万元,上年同期为13.41万元。

2024年第一季度,公司营业收入现金比为120.51%,净现比为442.17%。

资产重大变化方面,截至2024年一季度末,公司其他流动资产较上年末减少35.95%,占公司总资产比重下降1.93个百分点;交易性金融资产较上年末增加4.45%,占公司总资产比重上升1.77个百分点;预付款项较上年末减少63.10%,占公司总资产比重下降1.01个百分点;长期股权投资较上年末增加7.93%,占公司总资产比重上升0.61个百分点。

负债重大变化方面,截至2024年一季度末,公司应付账款较上年末增加13.22%,占公司总资产比重上升0.12个百分点;预收款项较上年末减少9.10%,占公司总资产比重下降0.07个百分点;合同负债较上年末增加1.19%,占公司总资产比重上升0.06个百分点;应交税费较上年末增加43.26%,占公司总资产比重上升0.04个百分点。

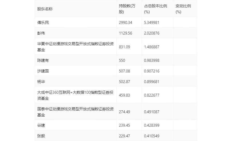
一季报显示,2024年一季度末公司十大流通股东中,新进股东为陈建有、国泰中证动漫游戏交易型开放式指数证券投资基金、谷建、张毅,取代了上年末的刘世祥、尚忠月、中国国际金融股份有限公司、中信证券股份有限公司。在具体持股比例上,华夏中证动漫游戏交易型开放式指数证券投资基金持股有所上升,彭伟、杨华、大成中证360互联网+大数据100指数型证券投资基金持股有所下降。

筹码集中度方面,截至2024年一季度末,公司股东总户数为5.85万户,较上年末增长了1.98万户,增幅51.29%;户均持股市值由上年末的8.73万元下降至5.27万元,降幅为39.63%。
