西部材料:2024年上半年净利润同比下降7.56% 拟10派1元

中证智能财讯 西部材料(002149)8月31日披露2024年半年报。2024年上半年,公司实现营业总收入15.44亿元,同比下降1.82%;归母净利润9560.98万元,同比下降7.56%;扣非净利润8467.28万元,同比下降7.99%;经营活动产生的现金流量净额为1.45亿元,上年同期为-9931.97万元;报告期内,西部材料基本每股收益为0.1958元,加权平均净资产收益率为3.22%。公司2024年半年度利润分配预案为:拟向全体股东每10股派1元(含税)。

以8月30日收盘价计算,西部材料目前市盈率(TTM)约为34.7倍,市净率(LF)约为2.21倍,市销率(TTM)约为2.04倍。

公司近年市盈率(TTM)、市净率(LF)、市销率(TTM)历史分位图如下所示:



根据半年报,公司第二季度实现营业总收入8.4亿元,同比下降1.60%,环比增长19.10%;归母净利润5890.37万元,同比下降13.74%,环比增长60.47%;扣非净利润5216.09万元,同比下降15.41%,环比增长60.44%。

2024年上半年,公司毛利率为22.84%,同比上升0.30个百分点;净利率为8.10%,较上年同期下降0.95个百分点。从单季度指标来看,2024年第二季度公司毛利率为24.00%,同比下降1.30个百分点,环比上升2.54个百分点;净利率为9.01%,较上年同期下降2.26个百分点,较上一季度上升1.98个百分点。

数据显示,2024年上半年公司加权平均净资产收益率为3.22%,较上年同期下降0.41个百分点;公司2024年上半年投入资本回报率为2.74%,较上年同期下降0.42个百分点。

2024年上半年,公司经营活动现金流净额为1.45亿元,同比增加2.44亿元,主要系销售商品、提供劳务收到的现金较上年同期增加所致;筹资活动现金流净额-1.44亿元,同比减少4.83亿元,主要系本年借款金额较上年同期减少所致;投资活动现金流净额-4585.78万元,上年同期为-5162.86万元。
进一步统计发现,2024年上半年公司自由现金流为1.10亿元,上年同期为-0.56亿元。

2024年上半年,公司营业收入现金比为66.98%,净现比为151.79%。

营运能力方面,2024年上半年,公司总资产周转率为0.23次,上年同期为0.23次(2023年上半年行业平均值为0.24次,公司位居同行业8/14);固定资产周转率为0.95次,上年同期为1.06次(2023年上半年行业平均值为1.30次,公司位居同行业10/14);公司应收账款周转率、存货周转率分别为1.25次、0.73次。

2024年上半年,公司期间费用为2.20亿元,较上年同期增加1248.20万元;期间费用率为14.23%,较上年同期上升1.05个百分点。其中,销售费用同比增长19.36%,管理费用同比增长6.93%,研发费用同比增长8.54%,财务费用同比下降19.26%。

资产重大变化方面,截至2024年上半年末,公司应收票据较上年末减少53.91%,占公司总资产比重下降4.58个百分点;应收账款较上年末增加20.19%,占公司总资产比重上升3.01个百分点;存货较上年末增加13.12%,占公司总资产比重上升2.49个百分点;货币资金较上年末减少13.31%,占公司总资产比重下降1.67个百分点。

负债重大变化方面,截至2024年上半年末,公司长期借款较上年末减少95.06%,占公司总资产比重下降7.94个百分点;一年内到期的非流动负债较上年末增加866.88%,占公司总资产比重上升7.45个百分点;应付账款较上年末增加93.20%,占公司总资产比重上升4.94个百分点;应付票据较上年末减少54.80%,占公司总资产比重下降2.24个百分点。

从存货变动来看,截至2024年上半年末,公司存货账面价值为17.3亿元,占净资产的58.61%,较上年末增加2.01亿元。其中,存货跌价准备为4611.16万元,计提比例为2.6%。

在偿债能力方面,公司2024年上半年末资产负债率为48.59%,相比上年末上升1.15个百分点;有息资产负债率为25.19%,相比上年末下降0.35个百分点。

2024年上半年,公司流动比率为1.45,速动比率为0.86。

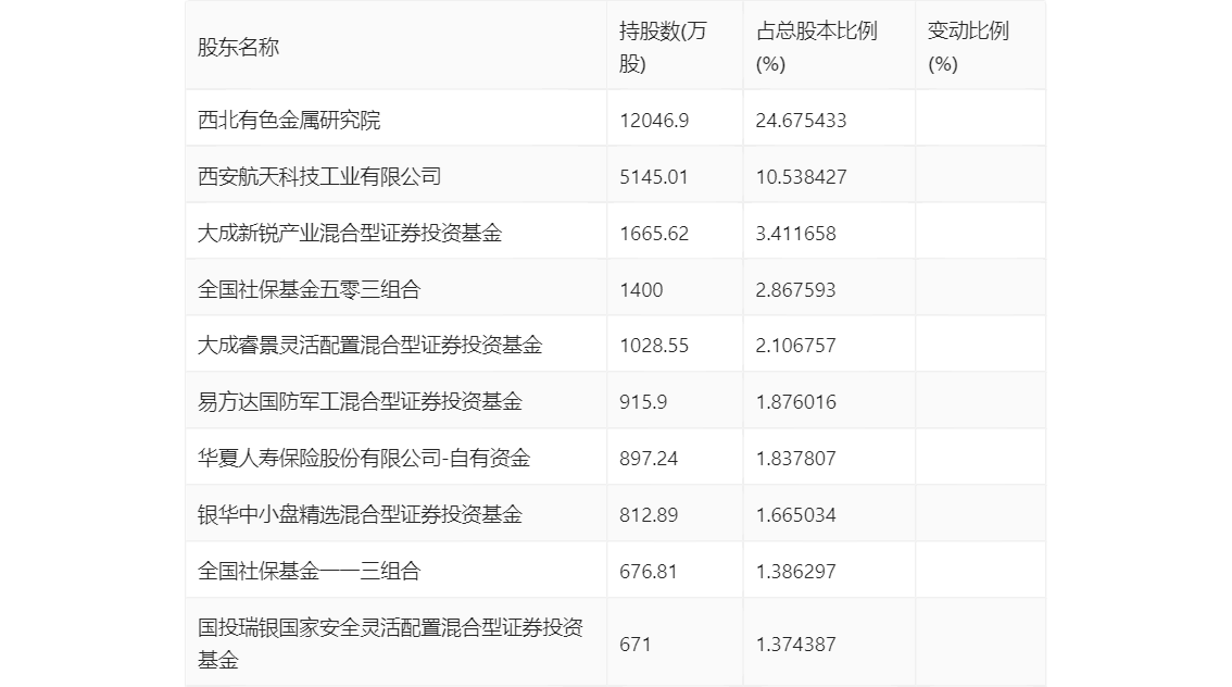
半年报显示,2024年上半年末公司十大流通股东中,新进股东为华夏人寿保险股份有限公司-自有资金、银华中小盘精选混合型证券投资基金,取代了一季度末的基本养老保险基金八零二组合、中国工商银行股份有限公司-兴全绿色投资混合型证券投资基金(LOF)。在具体持股比例上,全国社保基金五零三组合、易方达国防军工混合型证券投资基金持股有所上升,全国社保基金一一三组合、国投瑞银国家安全灵活配置混合型证券投资基金持股有所下降。

筹码集中度方面,截至2024年上半年末,公司股东总户数为3.12万户,较一季度末增长了320户,增幅1.04%;户均持股市值由一季度末的24.75万元下降至21.85万元,降幅为11.72%。

指标注解:
市盈率
=总市值/净利润。当公司亏损时市盈率为负,此时用市盈率估值没有实际意义,往往用市净率或市销率做参考。
市净率
=总市值/净资产。市净率估值法多用于盈利波动较大而净资产相对稳定的公司。
市销率
=总市值/营业收入。市销率估值法通常用于亏损或微利的成长型公司。
文中市盈率和市销率采用TTM方式,即以截至最近一期财报(含预报)12个月的数据计算。市净率采用LF方式,即以最近一期财报数据计算。
市盈率为负时,不显示当期分位数,会导致折线图中断。