通润装备:2024年上半年净利润7703.72万元 同比增长242.93%

中证智能财讯 通润装备(002150)8月27日披露2024年半年度报告。2024年上半年,公司实现营业收入16.07亿元,同比增长73.35%;归母净利润7703.72万元,同比增长242.93%;扣非净利润7176.82万元,同比增长212.91%;经营活动产生的现金流量净额为4192.21万元,同比下降76.36%;报告期内,通润装备基本每股收益为0.22元,加权平均净资产收益率为4.56%。
公告称,公司营业收入变化主要由于金属制品业务同比增长以及新能源业务注入带来的收入贡献引起。

以8月26日收盘价计算,通润装备目前市盈率(TTM)约为36.64倍,市净率(LF)约为2.56倍,市销率(TTM)约为1.36倍。

公司近年市盈率(TTM)、市净率(LF)、市销率(TTM)历史分位图如下所示:



根据半年报,公司第二季度实现营业总收入9.23亿元,同比增长51.47%,环比增长34.83%;归母净利润6173.74万元,同比增长697.46%,环比增长303.52%;扣非净利润5856.28万元,同比增长530.24%,环比增长343.47%。

资料显示,公司主要从事光伏储能设备、元器件以及金属制品的研发、生产及销售业务,目前形成光储逆变器、储能系统业务和金属制造业务双主业驱动的格局。
2024年上半年,公司毛利率为32.01%,同比上升10.88个百分点;净利率为6.58%,较上年同期上升3.00个百分点。从单季度指标来看,2024年第二季度公司毛利率为33.78%,同比上升12.64个百分点,环比上升4.16个百分点;净利率为8.40%,较上年同期上升5.98个百分点,较上一季度上升4.27个百分点。

数据显示,2024年上半年公司加权平均净资产收益率为4.56%,较上年同期增长3.14个百分点;公司2024年上半年投入资本回报率为3.90%,较上年同期增长2.34个百分点。

2024年上半年,公司经营活动现金流净额为4192.21万元,同比下降76.36%,主要系本期购买商品、接受劳务支付的现金同比增加引起所致;筹资活动现金流净额9484.05万元,同比增加5598.66万元,主要系本期新增银行借款引起所致;投资活动现金流净额-3111.06万元,上年同期为-1.8亿元,主要系上期支付收购子公司股权款而本期无此项支出引起所致。
进一步统计发现,2024年上半年公司自由现金流为4718.55万元,相比上年同期下降70.27%。

2024年上半年,公司营业收入现金比为110.94%,净现比为54.42%。

营运能力方面,2024年上半年,公司公司总资产周转率为0.37次,上年同期为0.30次(2023年上半年行业平均值为0.27次,公司位居同行业33/79);固定资产周转率为2.64次,上年同期为1.92次(2023年上半年行业平均值为1.20次,公司位居同行业17/79);公司应收账款周转率、存货周转率分别为2.10次、1.12次。

2024年上半年,公司期间费用为3.44亿元,较上年同期增加2.08亿元;期间费用率为21.41%,较上年同期上升6.69个百分点。其中,销售费用同比增长299.9%,管理费用同比增长14.94%,研发费用同比增长573.38%,财务费用由去年同期的-1709.09万元变为-1060.24万元。
资料显示,销售费用的变动主要因为合并新能源业务引起;管理费用的变动主要因为合并新能源业务引起;财务费用的变动主要因为利息费用支出增加引起。

资产重大变化方面,截至2024年上半年末,公司应收款项融资较上年末减少95.48%,占公司总资产比重下降2.87个百分点;存货较上年末增加19.79%,占公司总资产比重上升2.21个百分点;固定资产较上年末减少3.36%,占公司总资产比重下降1.63个百分点;应收账款较上年末增加18.47%,占公司总资产比重上升1.54个百分点。

负债重大变化方面,截至2024年上半年末,公司应付账款较上年末增加30.08%,占公司总资产比重上升2.34个百分点;短期借款较上年末增加31.94%,占公司总资产比重上升1.58个百分点;长期借款较上年末增加9.09%,占公司总资产比重上升0.06个百分点;应付职工薪酬较上年末减少35.17%,占公司总资产比重下降1.30个百分点。

从存货变动来看,截至2024年上半年末,公司存货账面价值为10.67亿元,占净资产的62.57%,较上年末增加1.76亿元。其中,存货跌价准备为1723.98万元,计提比例为1.59%。

在偿债能力方面,公司2024年上半年末资产负债率为57.79%,相比上年末上升2.54个百分点;有息资产负债率为24.76%,相比上年末上升2.39个百分点。

2024年上半年,公司流动比率为1.71,速动比率为1.13。

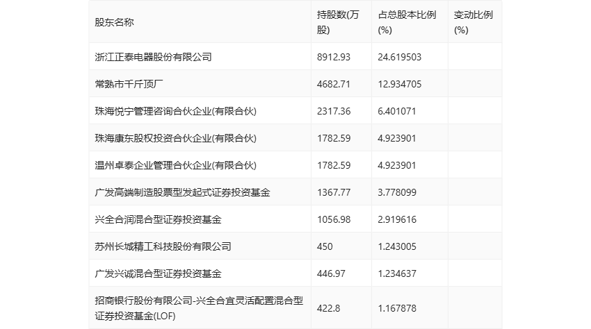
半年报显示,2024年上半年末公司十大流通股东中,新进股东为广发高端制造股票型发起式证券投资基金、广发兴诚混合型证券投资基金,取代了一季度末的广发策略优选混合型证券投资基金、新余新观念投资管理有限公司。在具体持股比例上,兴全合润混合型证券投资基金、招商银行股份有限公司-兴全合宜灵活配置混合型证券投资基金(LOF)持股有所下降。

筹码集中度方面,截至2024年上半年末,公司股东总户数为2.08万户,较一季度末下降了1548户,降幅6.94%;户均持股市值由一季度末的22.93万元下降至21.33万元,降幅为6.98%。

指标注解:
市盈率
=总市值/净利润。当公司亏损时市盈率为负,此时用市盈率估值没有实际意义,往往用市净率或市销率做参考。
市净率
=总市值/净资产。市净率估值法多用于盈利波动较大而净资产相对稳定的公司。
市销率
=总市值/营业收入。市销率估值法通常用于亏损或微利的成长型公司。
文中市盈率和市销率采用TTM方式,即以截至最近一期财报(含预报)12个月的数据计算。市净率采用LF方式,即以最近一期财报数据计算。
市盈率为负时,不显示当期分位数,会导致折线图中断。