智光电气:2024年第一季度亏损6153.37万元

中证智能财讯 智光电气(002169)4月29日披露2024年一季报。2024年第一季度,公司实现营业总收入5.27亿元,同比增长19.58%;归母净利润亏损6153.37万元,上年同期盈利1.03亿元;扣非净利润亏损4702.05万元,上年同期亏损1907.19万元;经营活动产生的现金流量净额为-2.10亿元,上年同期为-1.35亿元;报告期内,智光电气基本每股收益为-0.0799元,加权平均净资产收益率为-2.01%。


2024年第一季度,公司毛利率为12.92%,同比下降5.75个百分点;净利率为-11.78%,较上年同期下降34.78个百分点。

数据显示,2024年第一季度公司加权平均净资产收益率为-2.01%,较上年同期下降5.09个百分点;公司2024年第一季度投入资本回报率为-1.08%,较上年同期下降3.36个百分点。

2024年第一季度,公司经营活动现金流净额为-2.10亿元,同比减少7526.46万元;筹资活动现金流净额5.94亿元,同比增加5.34亿元;投资活动现金流净额-1.87亿元,上年同期为-2237.94万元。

2024年第一季度,公司营业收入现金比为100.32%。

资产重大变化方面,截至2024年一季度末,公司在建工程较上年末增加10.67%,占公司总资产比重上升1.16个百分点;货币资金较上年末减少4.71%,占公司总资产比重下降0.81个百分点;交易性金融资产较上年末增加542.72%,占公司总资产比重上升0.64个百分点;其他非流动金融资产较上年末减少2.25%,占公司总资产比重下降0.62个百分点。

负债重大变化方面,截至2024年一季度末,公司其他应付款(含利息和股利)较上年末减少84.63%,占公司总资产比重下降2.85个百分点;应付票据较上年末减少29.67%,占公司总资产比重下降1.42个百分点;短期借款较上年末增加7.38%,占公司总资产比重上升0.88个百分点;应付账款较上年末减少3.21%,占公司总资产比重下降0.96个百分点。

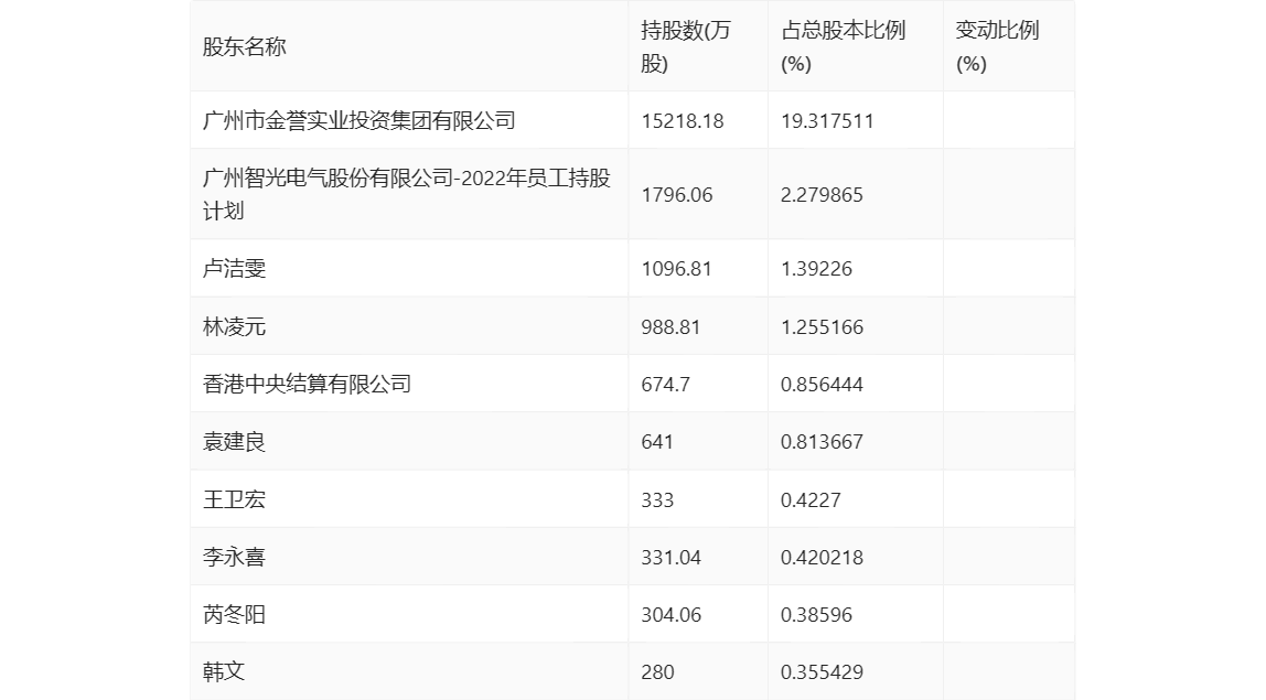
一季报显示,2024年一季度末公司十大流通股东中,新进股东为韩文,取代了上年末的张国友。在具体持股比例上,林凌元、香港中央结算有限公司、袁建良持股有所上升。

筹码集中度方面,截至2024年一季度末,公司股东总户数为6.25万户,较上年末下降了1196户,降幅1.88%;户均持股市值由上年末的8.51万元下降至7.31万元,降幅为14.10%。
