龙虎榜丨延华智能今日涨停,营业部席位合计净买入1.68亿元

查股网  2024-01-22 16:43  延华智能(002178)个股分析

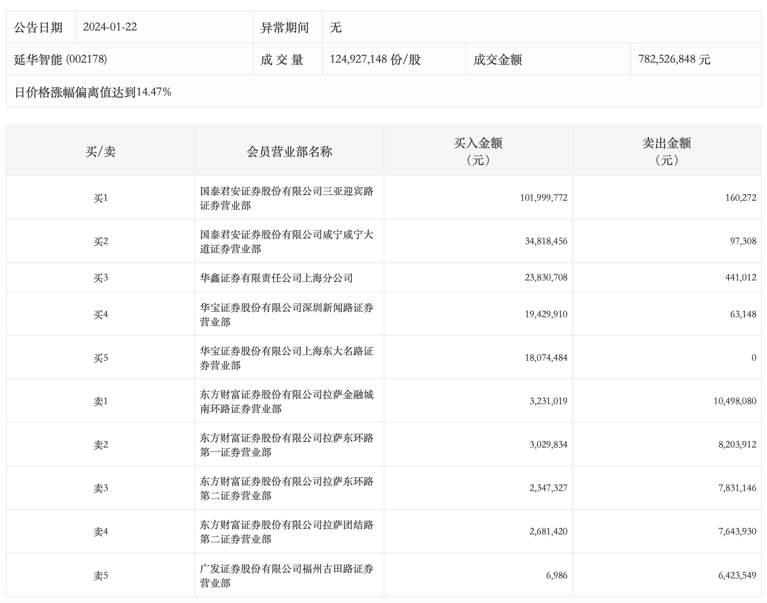
1月22日,延华智能今日涨停,全天换手率达17.55%,振幅达14.71%。龙虎榜数据显示,营业部席位合计净买入1.68亿元。其中,国泰君安证券三亚迎宾路证券营业部、国泰君安证券咸宁咸宁大道证券营业部分别买入1.02亿元、3481.85万元;东方财富证券拉萨金融城南环路证券营业部、东方财富证券拉萨东环路第一证券营业部分别卖出1049.81万元、820.39万元。