龙虎榜丨鸿博股份今日涨7%,东方财富证券拉萨东环路第一证券营业部买入3675.8万元

http://ddx.gubit.cn  2023-05-05 19:48  鸿博股份(002229)公司分析

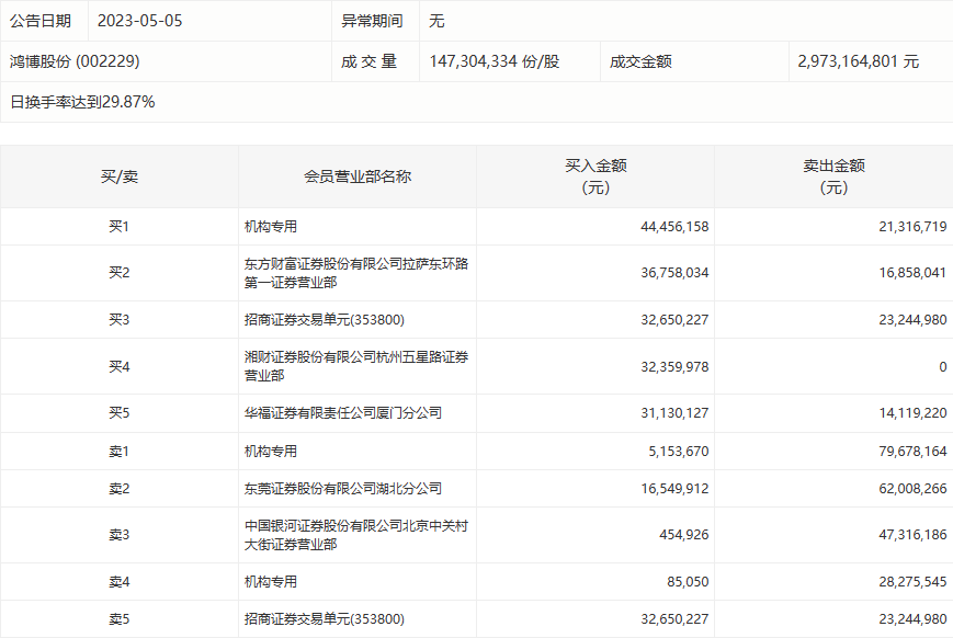
5月5日,鸿博股份今日涨7%,龙虎榜数据显示,上榜营业部席位全天成交4.92亿元,占当日总成交金额比例为16.56%。其中,买入金额为2.0亿元,卖出金额为2.93亿元,合计净卖出9321.9万元。

具体来看,机构买入4969.49万元,卖出1.29亿元,合计净卖出7957.56万元。此外,东方财富证券拉萨东环路第一证券营业部、招商证券交易单元(353800)分别买入3675.80万元、3265.02万元;东莞证券湖北分公司、中国银河证券北京中关村大街证券营业部分别卖出6200.83万元、4731.62万元。