查股网.CN
首页
选股
热点
资金
板块
大盘
DDX
游资
龙虎
导航
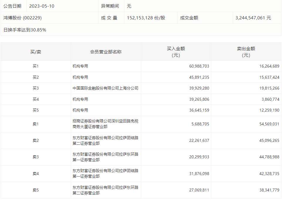
龙虎榜 | 鸿博股份今日涨1.02%,4家机构专用席位净买入1.35亿元
龙虎榜 | 鸿博股份今日涨1.02%,4家机构专用席位净买入1.35亿元
http://ddx.gubit.cn
2023-05-10 16:46
鸿博股份(002229)公司分析
5月10日,
鸿博股份
今日涨1.02%,成交额32.45亿元,换手率30.85%,盘后龙虎榜数据显示,4家机构专用席位净买入1.35亿元。