龙虎榜丨鸿博股份今日跌9.18%,上榜营业部席位合计净卖出8347.82万元

http://ddx.gubit.cn  2023-05-23 16:32  鸿博股份(002229)公司分析

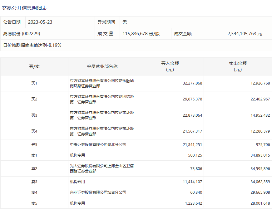
5月23日,鸿博股份今日跌9.18%,龙虎榜数据显示,上榜营业部席位全天成交3.66亿元,占当日总成交金额比例为15.62%。其中,买入金额为1.41亿元,卖出金额为2.25亿元,合计净卖出8347.82万元。

具体来看,机构买入1321.79万元,卖出9695.7万元,合计净卖出8373.91万元。此外,光大证券上海金山区卫清西路证券营业部、兴业证券烟台分公司分别卖出3459.59万元、2966.59万元;东方财富证券拉萨金融城南环路证券营业部、东方财富证券拉萨团结路第一证券营业部分别买入3227.79万元、2987.54万元。