龙虎榜丨鸿博股份今日涨停,机构合计净买入7539.88万元,方新侠买入5662.45万元

http://ddx.gubit.cn  2023-05-30 16:44  鸿博股份(002229)公司分析

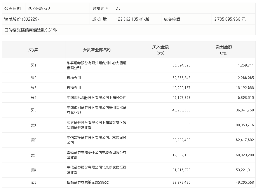
5月30日,鸿博股份今日涨停,龙虎榜数据显示,上榜营业部席位全天成交7.45亿元,占当日总成交金额比例为19.95%。其中,买入金额为3.61亿元,卖出金额为3.84亿元,合计净卖出2341.09万元。

具体来看,机构买入1.01亿元,卖出2545.87万元,合计净买入7539.88万元。此外,知名游资现身龙虎榜,方新侠(华泰证券台州中心大道证券营业部)、中国国际金融上海分公司分别买入5662.45万元、4610.74万元;东方证券上海浦东新区源深路证券营业部、中信建投证券北京东城分公司分别卖出9035.37万元、6241.77万元。