鸿博股份今日涨3.27% 深股通净卖出

http://ddx.gubit.cn  2023-08-03 16:33  鸿博股份(002229)公司分析

转自:证券时报·e公司

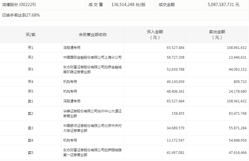
e公司讯,鸿博股份今日涨3.27%,成交额50.87亿元。盘后龙虎榜数据显示,深股通专用席位买入6552.75万元并卖出1.09亿元,二机构专用席位净买入7254.86万元,一家机构专用席位净卖出4167.64万元。