龙虎榜丨鸿博股份今日涨停,深股通专用净买入2876.88万元

http://ddx.gubit.cn  2023-09-15 20:44  鸿博股份(002229)公司分析

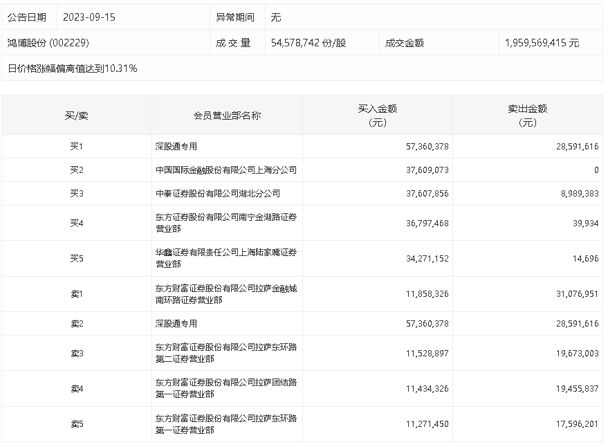
9月15日,鸿博股份今日涨停,龙虎榜数据显示,上榜营业部席位全天成交3.75亿元,占当日总成交金额比例为19.15%。其中,买入金额为2.5亿元,卖出金额为1.25亿元,合计净买入1.24亿元。

具体来看,深股通专用、中国国际金融上海分公司分别买入5736.04万元、3760.91万元;东方财富证券拉萨金融城南环路证券营业部、深股通专用分别卖出3107.70万元、2859.16万元。