龙虎榜丨川大智胜今日跌停,机构合计净卖出325.7万元

http://ddx.gubit.cn  2023-04-24 21:48  川大智胜(002253)公司分析

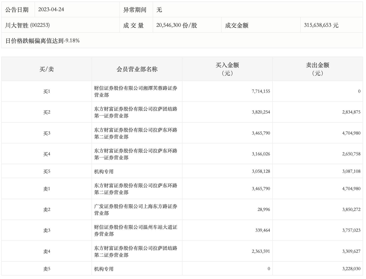
4月24日,川大智胜今日跌停,龙虎榜数据显示,上榜营业部席位全天成交5137.91万元,占当日总成交金额比例为16.28%。其中,买入金额为2395.64万元,卖出金额为2742.27万元,合计净卖出346.63万元。

具体来看,机构买入305.81万元,卖出631.51万元,合计净卖出325.7万元。此外,东方财富证券拉萨东环路第二证券营业部、广发证券上海东方路证券营业部分别卖出470.50万元、385.03万元;财信证券湘潭芙蓉路证券营业部、东方财富证券拉萨团结路第一证券营业部分别买入771.42万元、382.03万元。