龙虎榜 | 拓维信息今日涨停,机构合计净卖出581.51万元

http://ddx.gubit.cn  2023-05-17 16:38  拓维信息(002261)公司分析

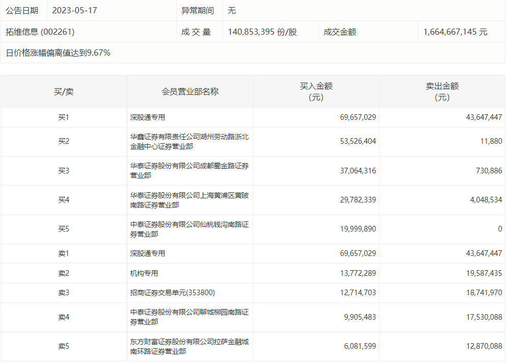
5月17日,拓维信息今日涨停,龙虎榜数据显示,上榜营业部席位全天成交3.7亿元,占当日总成交金额比例为22.21%。其中,买入金额为2.53亿元,卖出金额为1.17亿元,合计净买入1.35亿元。

具体来看,机构买入1377.23万元,卖出1958.74万元,合计净卖出581.51万元。此外,深股通专用、华鑫证券湖州劳动路浙北金融中心证券营业部分别买入6965.70万元、5352.64万元;深股通专用、招商证券交易单元(353800)分别卖出4364.74万元、1874.20万元。