查股网.CN
首页
选股
热点
资金
板块
大盘
DDX
游资
龙虎
导航
龙虎榜 | 拓维信息今日涨停 北上资金净买入8746万元
龙虎榜 | 拓维信息今日涨停 北上资金净买入8746万元
http://ddx.gubit.cn
2023-06-08 16:27
拓维信息(002261)公司分析
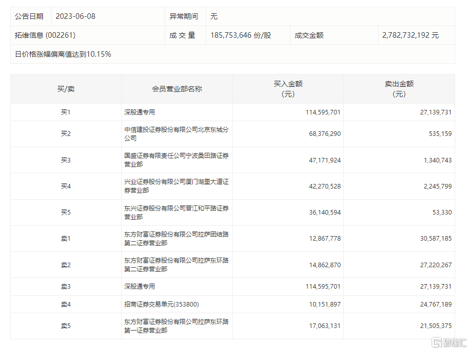
格隆汇6月8日丨拓维信息今日涨停,深股通买入1.15亿元并卖出2714万元,中信建投北京东城分公司净买入6784万元,国盛证券宁波桑田路净买入4583万元。