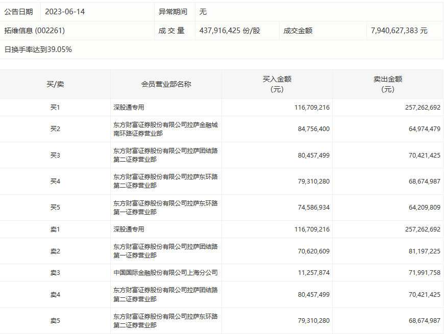
龙虎榜丨拓维信息今日跌1.83%,上榜营业部席位合计净卖出1.61亿元

http://ddx.gubit.cn  2023-06-14 16:37  拓维信息(002261)公司分析

6月14日,拓维信息今日跌1.83%,龙虎榜数据显示,上榜营业部席位全天成交11.96亿元,占当日总成交金额比例为15.07%。其中,买入金额为5.18亿元,卖出金额为6.79亿元,合计净卖出1.61亿元。

具体来看,深股通专用、东方财富证券拉萨团结路第一证券营业部分别卖出2.57亿元、8119.72万元;深股通专用、东方财富证券拉萨金融城南环路证券营业部分别买入1.17亿元、8475.64万元。