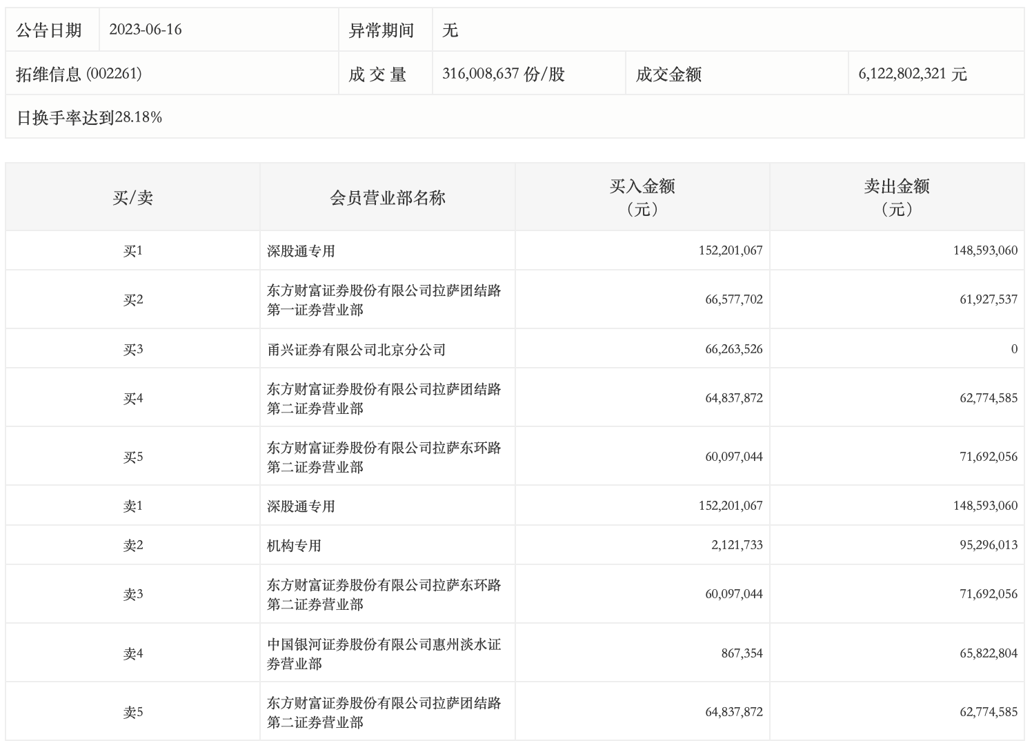
龙虎榜丨拓维信息今日涨2.55%,深股通专用买入1.52亿元并卖出1.49亿元

http://ddx.gubit.cn  2023-06-16 17:21  拓维信息(002261)公司分析

6月16日,拓维信息今日涨2.55%,龙虎榜数据显示,上榜营业部席位全天成交9.19亿元,占当日总成交金额比例为15.01%。其中,买入金额为4.13亿元,卖出金额为5.06亿元,合计净卖出9313.98万元。

具体来看,机构买入212.17万元,卖出9529.6万元,合计净卖出9317.43万元。此外,深股通专用、东方财富证券拉萨团结路第一证券营业部分别买入1.52亿元、6657.77万元;深股通专用、东方财富证券拉萨东环路第二证券营业部分别卖出1.49亿元、7169.21万元。